
|
見出番号 |
部品番号 |
部品名 |
数量 |
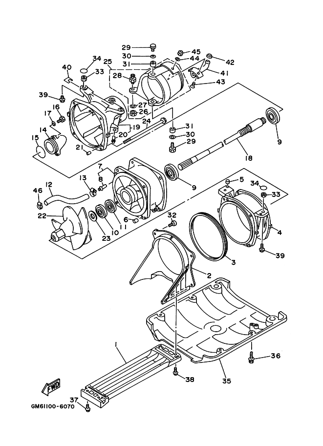
1 |
6R7-51333-00 |
スクリ-ン,インテ-ク
|
|
2 |
6R7-51311-00 |
ダクト,インテ-ク
|
|
3 |
6R7-51117-01 |
パツキング
|
|
4 |
6R7-51312-00-94 |
HOUSING, IMPELLER
|
|
5 |
93606-07M17 |
ピン, ダウエル
|
|
6 |
93606-12019 |
ピン,ダウエル
|
|
7 |
62T-51315-00-94 |
DUCT, IMPELLER
|
|
8 |
6K8-51129-00 |
ニツプル
|
|
9 |
93306-205U0 |
ベアリング
|
|
10 |
93102-25M34 |
オイルシ-ル
|
|
11 |
93101-25M50 |
オイルシ-ル
|
|
12 |
90445-14M12 |
【販売終了】ホ-ス (L110)
|
|
13 |
90450-14M05 |
ホ-スクランプアセンブリ
|
|
14 |
62T-51326-00 |
CAP
|
|
15 |
93210-46M16 |
O-リング
|
|
16 |
97095-06016 |
ボルト
|
|
17 |
92990-06600 |
ワツシヤ,プレ-ト
|
|
18 |
6R7-45511-01 |
SHAFT, DRIVE
|
|
19 |
6R7-51318-05-94 |
NOZZLE
|
|
20 |
6K8-51129-00 |
ニツプル
|
|
21 |
93606-12019 |
ピン,ダウエル
|
|
22 |
6R7-51321-00-94 |
IMPELLER
|
|
23 |
62T-51348-00 |
スペ-サ
|
|
24 |
90119-06M70 |
ボルト,ウイズワツシヤ
|
|
25 |
61L-51313-00 |
NOZZLE,DEFLECTOR
|
|
26 |
95380-06700 |
ナツト
|
|
27 |
90201-06M02 |
WASHER, PLATE
|
|
28 |
6R7-42316-00 |
BOLT, JOINT
|
|
29 |
97095-08018 |
ボルト
|
|
30 |
92995-08600 |
ワツシヤ
|
|
31 |
90387-08M06 |
カラ-
|
|
32 |
97780-60120 |
スクリユ,タツピング
|
|
33 |
90179-10925 |
ナツト
|
|
34 |
EW2-62723-30 |
プラグ
|
|
35 |
EW2-62731-01 |
PLATE 2
|
|
36 |
90119-08943 |
ボルト,ウイズワツシヤ
|
|
37 |
90119-06915 |
ボルト,ウイズワツシヤ
|
|
38 |
90119-06908 |
ボルト,ウイズワツシヤ
|
|
39 |
90119-10948 |
ボルト,ウイズワツシヤ
|
|
40 |
EW2-67354-00-01 |
SHIM (T=01) UR
|
|
40 |
EW2-67354-00-03 |
SHIM (T=03) UR
|
|
40 |
EW2-67354-00-05 |
SHIM (T=05) UR
|
|
40 |
EW2-67354-00-10 |
SHIM (T=10) UR
|
|
41 |
EU0-62693-02 |
SPOUT
|
|
42 |
6R8-62695-00 |
CAP, SPOUT
|
|
43 |
98780-05016 |
SCREW, FLAT HEAD
|
|
44 |
92990-05200 |
ワツシヤ,プレ-ン
|
|
45 |
95720-05300 |
ナツト,フランジ
|
|
46 |
90601-11062 |
バンド,ホース 11
|
|
|