
|
見出番号 |
部品番号 |
部品名 |
数量 |
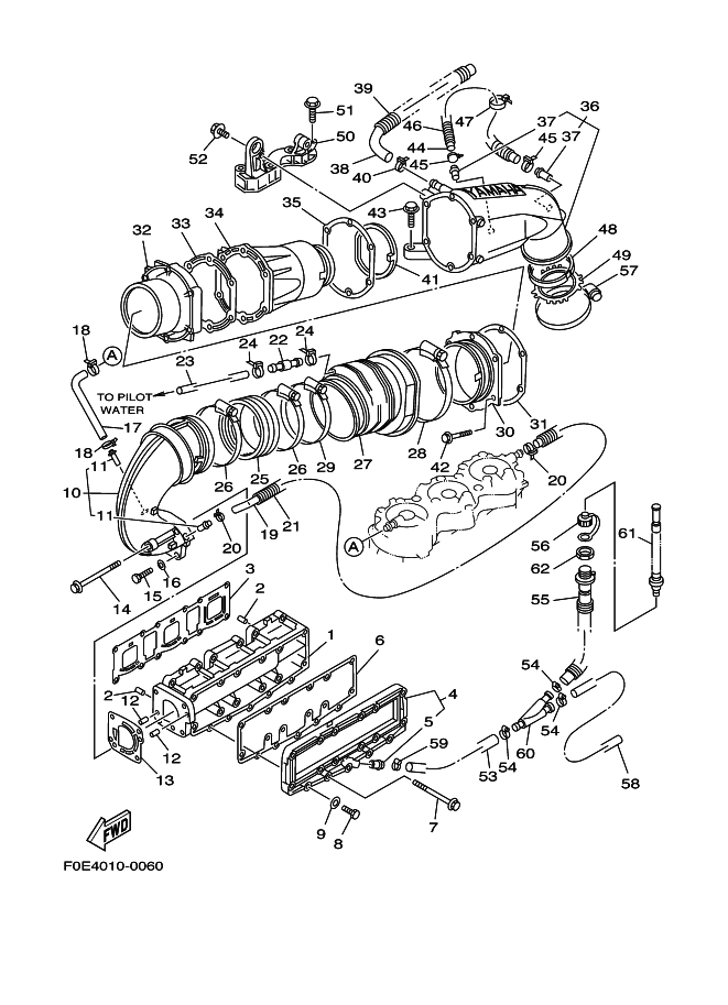
1 |
63M-14711-00-94 |
MUFFLER 1
|
|
2 |
93605-12M21 |
PIN, DOWEL
|
|
3 |
65U-14613-00 |
GASKET, EXHAUST PIPE
|
|
4 |
63M-14718-00-9P |
PROTECTOR, MUFFLER 1
|
|
5 |
63M-51129-00 |
NIPPLE
|
|
6 |
63M-14739-00 |
GASKET, MUFFLER DAMPER 1
|
|
7 |
90119-08M98 |
BOLT, WITH WASHER
|
|
8 |
97095-06030 |
BOLT
|
|
9 |
92995-06600 |
ワツシヤ
|
|
10 |
63M-14712-00-9P |
RING, JOINT
|
|
11 |
6K8-51129-00 |
ニツプル
|
|
12 |
93605-12M21 |
PIN, DOWEL
|
|
13 |
63M-14749-00 |
GASKET, MUFFLER DAMPER 2
|
|
14 |
90119-08M02 |
BOLT, WITH WASHER
|
|
15 |
97013-08030 |
ボルト
|
|
16 |
92903-08600 |
ワツシヤ,プレ-ト
|
|
17 |
63M-12576-00 |
HOSE 1
|
|
18 |
90450-14M05 |
ホ-スクランプアセンブリ
|
|
19 |
63M-12577-00 |
HOSE 2
|
|
20 |
90450-14M05 |
ホ-スクランプアセンブリ
|
|
21 |
90446-20M53 |
HOSE
|
|
22 |
6R3-24377-00 |
PIPE, JOINT 3
|
|
23 |
90445-14M34 |
HOSE (L1700)
|
|
24 |
90465-11M10 |
クランプ
|
|
25 |
62T-14625-00 |
JOINT, EXHAUST 2
|
|
26 |
90450-99M06 |
HOSE CLAMP ASSY
|
|
27 |
63M-14615-00 |
JOINT, EXHAUST 1
|
|
28 |
90450-99M16 |
HOSE CLAMP ASSY
|
|
29 |
90450-99M02 |
HOSE CLAMP ASSY
|
|
30 |
63M-41113-00-94 |
OUTER COVER, EXHAUST
|
|
31 |
63M-41114-00 |
GASKET, EXHAUST OUTER COVER
|
|
32 |
63M-14721-00-94 |
MUFFLER 2
|
|
33 |
63M-41122-00 |
GASKET, EXHAUST INNER COVER
|
|
34 |
63M-41121-00-94 |
INNER COVER,EXHAUST
|
|
35 |
63M-41114-00 |
GASKET, EXHAUST OUTER COVER
|
|
36 |
63M-41123-00-94 |
OUTER COVER, EXHAUST
|
|
37 |
6K8-51129-00 |
ニツプル
|
|
38 |
64X-12578-01 |
HOSE 3
|
|
39 |
90446-27M55 |
チユーブ(L400)
|
|
40 |
90450-22M14 |
HOSE CLAMP ASSY
|
|
41 |
63M-15761-00 |
SEAL, RUBBER 1
|
|
42 |
90105-08M66 |
BOLT, FLANGE
|
|
43 |
90105-10M60 |
BOLT, FLANGE
|
|
44 |
90445-14M05 |
ホ-ス (L240)
|
|
45 |
90465-11M10 |
クランプ
|
|
46 |
90446-20M39 |
HOSE
|
|
47 |
90465-13M24 |
CLAMP
|
|
48 |
63M-41138-00 |
SEAL, EXT 1
|
|
49 |
63M-14680-00 |
STOPPER
|
|
50 |
63M-14771-00-94 |
STAY, MUFFLER 1
|
|
51 |
90119-10M17 |
ボルト,ウイズワツシヤ
|
|
52 |
90105-10M88 |
ボルト,フランジ
|
|
53 |
90445-18M04 |
HOSE (L450)
|
|
54 |
90450-18M09 |
ホ-スクランプアセンブリ
|
|
55 |
65B-12580-00 |
JOINT ASSY
|
|
56 |
682-84385-01 |
キヤツプ 1
|
|
57 |
90450-99M02 |
HOSE CLAMP ASSY
|
|
58 |
90445-18M05 |
HOSE (L500)
|
|
59 |
90450-18M09 |
ホ-スクランプアセンブリ
|
|
60 |
63M-12581-00 |
JOINT, HOSE 1
|
|
61 |
63M-12590-10 |
CONDUCTION ASSY
|
|
62 |
EU0-61652-00 |
ロ-プホ-ルナツト
|
|
|