
|
見出番号 |
部品番号 |
部品名 |
数量 |
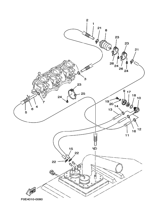
1 |
90445-17M04 |
HOSE (L700)
|
|
2 |
90446-24M81 |
HOSE
|
|
3 |
90450-17M17 |
HOSE CLAMP ASSY
|
|
4 |
90445-17M05 |
【販売終了】HOSE (L1750)
|
|
5 |
90446-24M83 |
HOSE
|
|
6 |
90464-15M11 |
CLAMP
|
|
7 |
90450-17M17 |
HOSE CLAMP ASSY
|
|
8 |
65B-24560-00 |
FILTER ASSY
|
|
9 |
6K8-24524-10 |
LEVER, COCK
|
|
10 |
65B-24500-01 |
FUEL COCK ASSY 1
|
|
11 |
90445-18M10 |
HOSE (L600)
|
|
12 |
90450-17M17 |
HOSE CLAMP ASSY
|
|
13 |
90445-18M09 |
【販売終了】HOSE (L350)
|
|
14 |
90450-17M17 |
HOSE CLAMP ASSY
|
|
15 |
90445-18M09 |
【販売終了】HOSE (L350)
|
|
16 |
90450-17M17 |
HOSE CLAMP ASSY
|
|
17 |
90170-22187 |
ナツト
|
|
18 |
90202-22922 |
WASHER, PLATE
|
|
19 |
97880-04010 |
SCREW, PAN HEAD
|
|
20 |
92990-04600 |
WASHER, PLATE
|
|
21 |
90450-18M09 |
ホ-スクランプアセンブリ
|
|
22 |
90450-18M09 |
ホ-スクランプアセンブリ
|
|
23 |
90600-91736 |
クランプコンプリート
|
|
24 |
97780-40112 |
SCREW, TAPPING
|
|
25 |
90601-20006 |
バンド
|
|
26 |
90601-20021 |
BAND
|
|
|