
|
見出番号 |
部品番号 |
部品名 |
数量 |
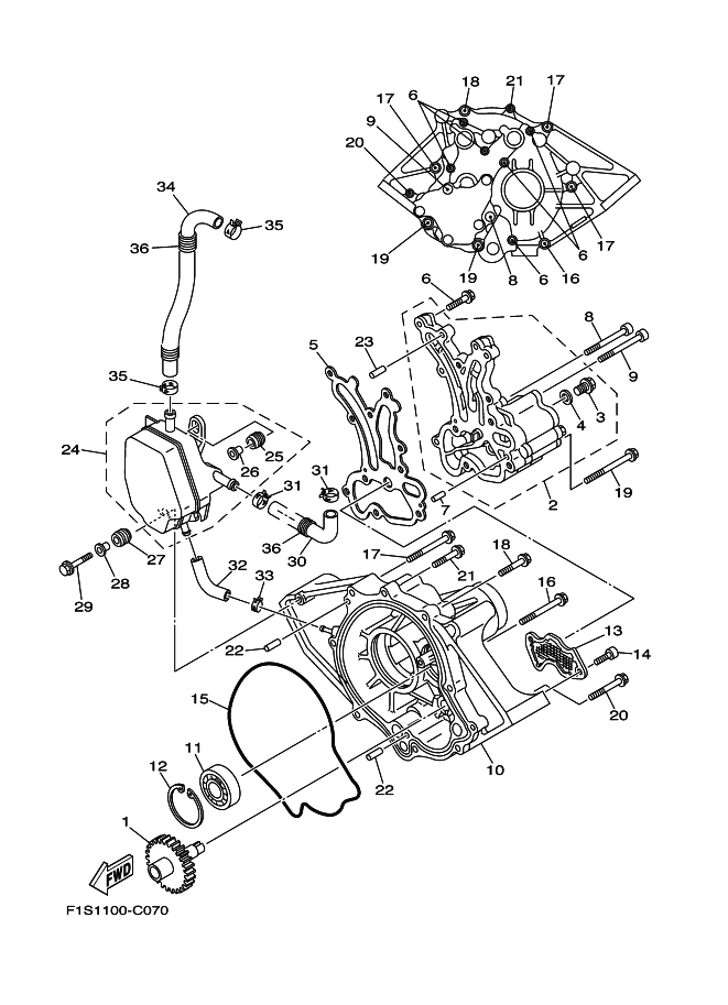
1 |
6B6-13360-00 |
ドリブン ギヤ アセンブリ
|
|
2 |
6B6-13300-00 |
オイルポンプアセンブリ
|
|
3 |
95817-08012 |
ボルト,フランジ
|
|
4 |
90430-08119 |
ガスケツト
|
|
5 |
6B6-13563-00 |
ガスケツト
|
|
6 |
97513-06525 |
ボルト,ウイズ ワツシヤ-
|
|
7 |
93603-12221 |
ピン,DOWEL (4HC)
|
|
8 |
90110-08039 |
ボルト,ヘキサゴンソケツトヘツド
|
|
9 |
90110-08040 |
ボルト,ヘキサゴンソケツトヘツド
|
|
10 |
6B6-13327-01-94 |
カバ-,ポンプギア
|
|
11 |
93306-30441 |
BEARING
|
|
12 |
99009-52500 |
サークリツプ
|
|
13 |
6B6-13411-00 |
ストレ-ナ,オイル
|
|
14 |
91317-06016 |
BOLT
|
|
15 |
6B6-13475-00 |
ガスケツト
|
|
16 |
90119-08045 |
BOLT, WITH WASHER
|
|
17 |
90119-08034 |
ボルト,ウイズワツシヤ
|
|
18 |
90119-08043 |
BOLT, WITH WASHER
|
|
19 |
90119-08073 |
ボルト,ウイズワツシヤ
|
|
20 |
97513-06555 |
ボルト,ウイズワツシヤ
|
|
21 |
97513-06535 |
BOLT, WITH WASHER
|
|
22 |
93608-16M16 |
ピン,ダウエル
|
|
23 |
93606-25M00 |
PIN, DOWEL
|
|
24 |
60E-11164-00 |
SEPERATOR, OIL
|
|
25 |
6A0-82317-00 |
ダンパ,イグニツシヨンコイル
|
|
26 |
624-42542-00 |
PIPE
|
|
27 |
6A0-82317-00 |
ダンパ,イグニツシヨンコイル
|
|
28 |
624-42542-00 |
PIPE
|
|
29 |
90119-06M65 |
BOLT, WITH WASHER
|
|
30 |
60E-11126-01 |
パイプ,ブリ-ザ 3
|
|
31 |
90467-170A0 |
CLIP
|
|
32 |
6B6-11125-00 |
パイプ,ブリ-ザ 4
|
|
33 |
90467-110A1 |
クリツプ
|
|
34 |
60E-11166-01 |
パイプ,ブリ-ザ 1
|
|
35 |
90467-170A0 |
CLIP
|
|
36 |
90447-19005 |
チユーブ(L260)
|
|
|