純正パーツカタログよりご注文又はお見積
YAMAHA MarineJet  2005年式  FX MJ-FX160/WHITE > オイルクーラー

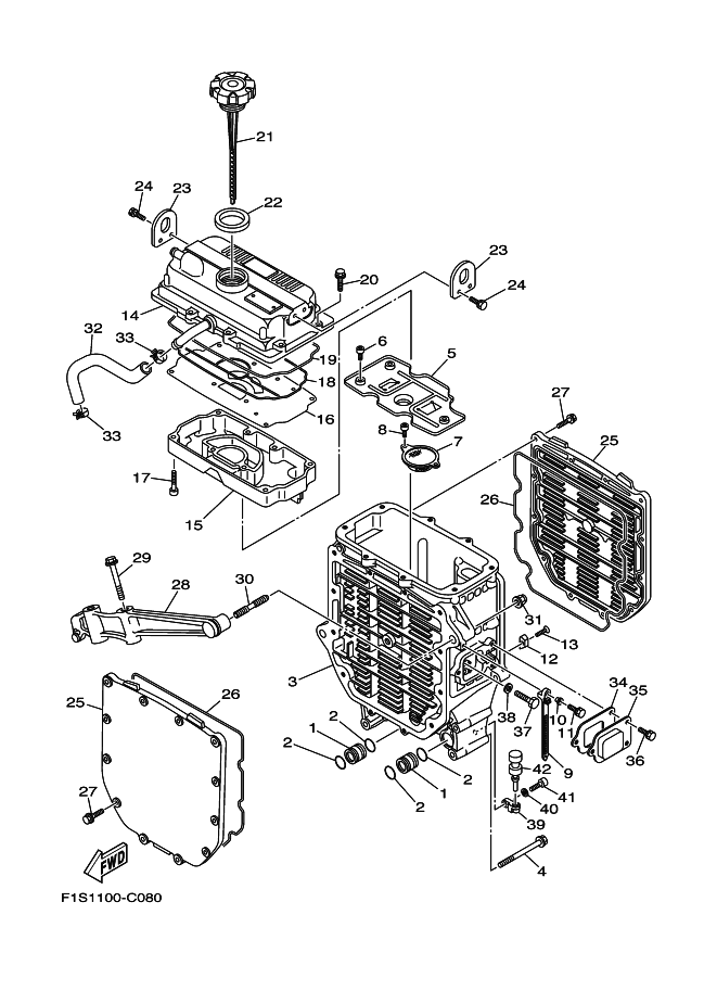
見出番号

部品番号

部品名

数量

1

60E-13446-00

コネクタ

2

93210-18322

O-リング

3

6B6-13462-00-94

ケ-ス,オイルク-ラ

4

90119-10020

ボルト,ウイズワツシヤ

5

6B6-13317-00

プレ-ト,バツフル

6

91317-05014

BOLT

7

60E-13421-00

STRAINER 2

8

91317-06014

ボルト,ヘキサゴンソケツトヘツド

9

90465-12M53

CLAMP

10

90387-06M05

カラ-

11

97595-06520

ボルト,ウイズワツシヤ

12

6E5-11325-00

アノ-ド

13

98780-04015

スクリユ,フラツトヘツド

14

60E-13463-10-94

カバー, オイルクーラ

15

6B6-11165-00

プレ-ト,ブリ-ザ

16

6B6-11145-00

プレ-ト,ブリ-ザ 2

17

91317-05035

BOLT

18

60E-13477-00

GASKET

19

60E-13475-00

GASKET

20

90105-06036

BOLT, FLANGE

21

60E-15362-00

PLUG, OIL LEVEL

22

60E-13473-00

O-RING

23

6B6-11119-00

ハンガ,エンジン

24

90119-06023

ボルト,ウイズワツシヤ

25

6D3-13443-00-94

カバ-, オイル ク-ラ-

26

60E-13476-10

ガスケツト

27

90105-06M07

ボルト,フランジ

28

6B6-13151-00-94

ステ-

29

90119-10M02

ボルト,ウイズワツシヤ

30

90116-10016

BOLT, STUD

31

90176-10001

ナツト,クラウン

32

6B6-11167-00

パイプ,ブリ-ザ 2

33

90467-170A0

CLIP

34

60E-13567-00

GASKET

35

60E-13882-00

COVER 2

36

97580-06516

BOLT, WITH WASHER

37

97013-06012

ボルト

38

92903-06600

ワツシヤ,プレ-ト

39

60E-51341-00-94

ブラケツト 1

40

92995-06600

ワツシヤ

41

91380-06020

ボルト

42

90480-06M46

グロメツト