純正パーツカタログよりご注文又はお見積
YAMAHA MarineJet  2006年式  FX MJ-FX CRUISERHO/WHITE > オイルポンプ

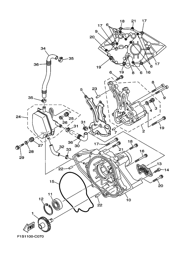
見出番号

部品番号

部品名

数量

1

6B6-13360-00

ドリブン ギヤ アセンブリ

2

6B6-13300-01

オイルポンプアセンブリ

3

95817-08012

ボルト,フランジ

4

90430-08119

ガスケツト

5

6B6-13563-01

ガスケツト

6

97513-06525

ボルト,ウイズ ワツシヤ-

7

93603-12221

ピン,DOWEL (4HC)

8

90110-08039

ボルト,ヘキサゴンソケツトヘツド

9

90110-08040

ボルト,ヘキサゴンソケツトヘツド

10

6B6-13327-01-94

カバ-,ポンプギア

11

93306-30441

BEARING

12

99009-52500

サークリツプ

13

6B6-13411-00

ストレ-ナ,オイル

14

91317-06016

BOLT

15

6B6-13475-00

ガスケツト

16

90119-08045

BOLT, WITH WASHER

17

90119-08034

ボルト,ウイズワツシヤ

18

90119-08043

BOLT, WITH WASHER

19

90119-08073

ボルト,ウイズワツシヤ

20

97513-06555

ボルト,ウイズワツシヤ

21

97513-06535

BOLT, WITH WASHER

22

93608-16M16

ピン,ダウエル

23

93606-25M00

PIN, DOWEL

24

60E-11164-00

SEPERATOR, OIL

25

6A0-82317-00

ダンパ,イグニツシヨンコイル

26

90387-06119

カラ-

27

6A0-82317-00

ダンパ,イグニツシヨンコイル

28

90387-06119

カラ-

29

90119-06M65

BOLT, WITH WASHER

30

60E-11126-01

パイプ,ブリ-ザ 3

31

90467-170A0

CLIP

32

6B6-11125-00

パイプ,ブリ-ザ 4

33

90467-110A1

クリツプ

34

60E-11166-01

パイプ,ブリ-ザ 1

35

90467-170A0

CLIP

36

90447-19005

チユーブ(L260)