
|
見出番号 |
部品番号 |
部品名 |
数量 |
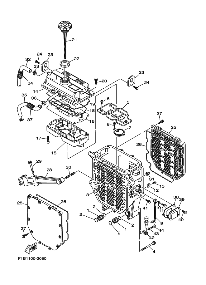
1 |
60E-13446-00 |
コネクタ
|
|
2 |
93210-18322 |
O-リング
|
|
3 |
60E-13462-00-94 |
CASE, OIL COOLER
|
|
4 |
90119-08M67 |
BOLT, WITH WASHER
|
|
5 |
60E-13317-00 |
PLATE, BAFFLE
|
|
6 |
91317-05014 |
BOLT
|
|
7 |
60E-13421-00 |
STRAINER 2
|
|
8 |
91317-06014 |
ボルト,ヘキサゴンソケツトヘツド
|
|
9 |
90465-12M53 |
CLAMP
|
|
10 |
90387-06M05 |
カラ-
|
|
11 |
97595-06520 |
ボルト,ウイズワツシヤ
|
|
12 |
6E5-11325-00 |
アノ-ド
|
|
13 |
98780-04015 |
スクリユ,フラツトヘツド
|
|
14 |
60E-13463-00-94 |
COVER, OIL COOLER
|
|
15 |
60E-11165-00 |
PLATE, BREATHER
|
|
16 |
60E-11145-00 |
PLATE, BREATHER 2
|
|
17 |
91317-05035 |
BOLT
|
|
18 |
60E-13477-00 |
GASKET
|
|
19 |
60E-13475-00 |
GASKET
|
|
20 |
90105-06036 |
BOLT, FLANGE
|
|
21 |
60E-15362-00 |
PLUG, OIL LEVEL
|
|
22 |
60E-13473-00 |
O-RING
|
|
23 |
68F-11119-00 |
HANGER, ENGINE
|
|
24 |
90119-06MA2 |
BOLT, WITH WASHER
|
|
25 |
60E-13443-00-94 |
COVER, OIL COOLER
|
|
26 |
60E-13476-00 |
GASKET
|
|
27 |
90105-06M07 |
ボルト,フランジ
|
|
28 |
60E-13151-00-94 |
STAY
|
|
29 |
90119-10M02 |
ボルト,ウイズワツシヤ
|
|
30 |
90116-10016 |
BOLT, STUD
|
|
31 |
90176-10001 |
ナツト,クラウン
|
|
32 |
60E-11166-00 |
PIPE, BREATHER 1
|
|
33 |
90467-170A0 |
CLIP
|
|
34 |
90447-19005 |
チユーブ(L260)
|
|
35 |
60E-11167-00 |
PIPE, BREATHER 2
|
|
36 |
90467-170A0 |
CLIP
|
|
37 |
90447-19004 |
ホース,ウイズスプリング(L130)
|
|
38 |
60E-13567-00 |
GASKET
|
|
39 |
60E-13882-00 |
COVER 2
|
|
40 |
97580-06516 |
BOLT, WITH WASHER
|
|
41 |
97507-06512 |
BOLT, WITH WASHER
|
|
42 |
60E-51341-00 |
【販売終了】BRACKET 1
|
|
43 |
92995-06600 |
ワツシヤ
|
|
44 |
91380-06020 |
ボルト
|
|
45 |
90480-06M46 |
グロメツト
|
|
|