純正パーツカタログよりご注文又はお見積
YAMAHA MarineJet  2003年式  FX140 MJ-FX1000/BLUE > オイルクーラー

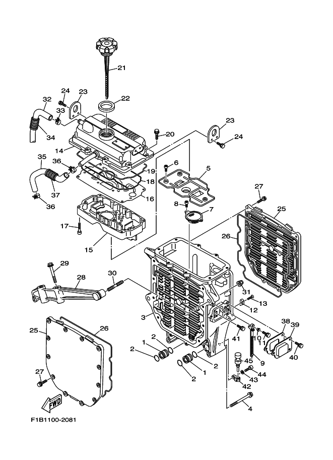
見出番号

部品番号

部品名

数量

1

60E-13446-00

コネクタ

2

93210-18322

O-リング

3

60E-13462-00-94

CASE, OIL COOLER

4

90119-08M67

BOLT, WITH WASHER

5

60E-13317-00

PLATE, BAFFLE

6

91317-05014

BOLT

7

60E-13421-00

STRAINER 2

8

91317-06014

ボルト,ヘキサゴンソケツトヘツド

9

90465-12M53

CLAMP

10

90387-06M05

カラ-

11

97595-06520

ボルト,ウイズワツシヤ

12

6E5-11325-00

アノ-ド

13

98780-04015

スクリユ,フラツトヘツド

14

60E-13463-00-94

COVER, OIL COOLER

15

60E-11165-00

PLATE, BREATHER

16

60E-11145-00

PLATE, BREATHER 2

17

91317-05035

BOLT

18

60E-13477-00

GASKET

19

60E-13475-00

GASKET

20

90105-06036

BOLT, FLANGE

21

60E-15362-00

PLUG, OIL LEVEL

22

60E-13473-00

O-RING

23

68F-11119-00

HANGER, ENGINE

24

90119-06MA2

BOLT, WITH WASHER

25

60E-13443-00-94

COVER, OIL COOLER

26

60E-13476-00

GASKET

27

90105-06M07

ボルト,フランジ

28

60E-13151-00-94

STAY

29

90119-10M02

ボルト,ウイズワツシヤ

30

90116-10016

BOLT, STUD

31

90176-10001

ナツト,クラウン

32

60E-11166-01

パイプ,ブリ-ザ 1

33

90467-170A0

CLIP

34

90447-19005

チユーブ(L260)

35

60E-11167-01

パイプ,ブリ-ザ 2

36

90467-170A0

CLIP

37

90447-19004

ホース,ウイズスプリング(L130)

38

60E-13567-00

GASKET

39

60E-13882-00

COVER 2

40

97580-06516

BOLT, WITH WASHER

41

97507-06512

BOLT, WITH WASHER

42

60E-51341-00

【販売終了】BRACKET 1

43

92995-06600

ワツシヤ

44

91380-06020

ボルト

45

90480-06M46

グロメツト