純正パーツカタログよりご注文又はお見積
YAMAHA MarineJet  2004年式  FX140 MJ-FX1000A/WHITE > インジェクションポンプ

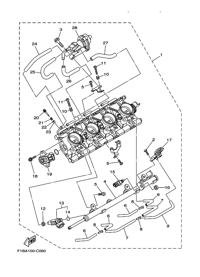
見出番号

部品番号

部品名

数量

1

60E-13750-20

スロツトルボデ-アセンブリ

2

68V-81147-00

SCREW 3

3

63P-14446-00

ボルト

4

60E-12880-10

デリバリイパイプ

5

60E-14216-00

スクリユ

6

5FL-14987-10

ホ-ス

7

5FL-14349-10

パイプ

8

4N0-14251-00

NIPPLE

9

5PW-14396-00

パイプ

10

3KW-14932-00

スプリング,スロツトル 2

11

69J-14321-00

SCREW, THROTTLE

12

90430-09002

GASKET

13

60E-13761-10

インジエクタアセンブリ

14

60E-14147-00

O-リング

15

65L-85886-00

サ-モセンサ-

16

60E-14358-00

ナツト

17

60E-82380-10

センサ-,プレツシヤ-

18

68V-81145-01

スクリユ 1

19

60E-85885-10

スロツトルセンサアセンブリ

20

4BH-14923-00

SCREW, PILOT

21

4BH-14134-00

SPRING, AIR ADJUSTING

22

3L5-14962-00

WASHER

23

3H1-14147-00

O-RING

24

60E-13545-00

ホ-ス 1

25

60E-13546-00

ホ-ス 2

26

60E-13547-00

ホ-ス 3

27

60E-13548-00

ホ-ス,エア 4

28

60E-13660-00

バイパスバルブモーターアセンブリ