
|
見出番号 |
部品番号 |
部品名 |
数量 |
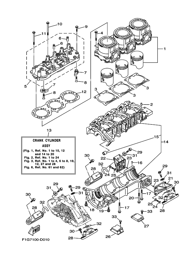
1 |
60T-W1130-10-8S |
シリンダ&ピストンセツト
|
|
2 |
93606-12019 |
ピン,ダウエル
|
|
3 |
66E-11351-02 |
ガスケツト,シリンダ
|
|
4 |
90119-10M07 |
ボルト,ウイズワツシヤ
|
|
5 |
60T-11111-10-8S |
ヘツド,シリンダ 1
|
|
6 |
66E-51129-00 |
NIPPLE
|
|
7 |
66E-11325-00 |
ANODE
|
|
8 |
98780-05020 |
SCREW, FLAT HEAD
|
|
9 |
90119-08MA1 |
BOLT, WITH WASHER
|
|
10 |
90119-08064 |
ボルト,ウイズワツシヤ
|
|
11 |
90119-08M67 |
BOLT, WITH WASHER
|
|
12 |
60T-11181-10 |
ガスケツト,シリンダヘツド 1
|
|
13 |
60T-W0090-04-8S |
クランクシリンダアセンブリ
|
|
14 |
60T-15100-00-8S |
【販売終了】クランクケ-スアセンブリ
|
|
15 |
90380-12M29 |
ブツシユ,ソリツド
|
|
16 |
93606-12019 |
ピン,ダウエル
|
|
17 |
90119-08M63 |
BOLT, WITH WASHER
|
|
18 |
90119-08M18 |
BOLT, WITH WASHER
|
|
19 |
90119-06M13 |
BOLT, WITH WASHER
|
|
20 |
90119-06M84 |
BOLT, WITH WASHER
|
|
21 |
68N-21425-00-94 |
BRACKET, REAR UPPER 1
|
|
22 |
68N-21426-00-94 |
BRACKET, REAR UPPER 2
|
|
23 |
93606-12019 |
ピン,ダウエル
|
|
24 |
97013-08025 |
ボルト
|
|
25 |
92903-08600 |
ワツシヤ,プレ-ト
|
|
26 |
66V-44532-00-94 |
STOPPER, UPPER MOUNT
|
|
27 |
66V-44574-00-94 |
STOPPER LWR MOUNT RUBBER
|
|
28 |
67X-44517-10-94 |
MOUNT RUBBER
|
|
29 |
90119-089UR |
BOLT, WITH WASHER
|
|
30 |
90119-08823 |
ボルト,ウイズワツシヤ
|
|
31 |
90201-099U3 |
ワツシヤ,プレ-ト
|
|
32 |
EU0-U7354-00-01UR |
|
|
32 |
EU0-U7354-00-03UR |
|
|
32 |
EU0-U7354-00-05UR |
|
|
32 |
EU0-U7354-00-10UR |
|
|
32 |
EU0-U7354-00-20UR |
|
|
33 |
90101-06917 |
BOLT
|
|
|