純正パーツカタログよりご注文又はお見積
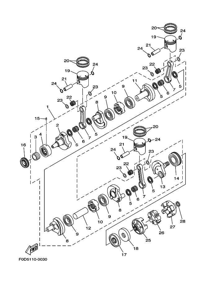
YAMAHA MarineJet  2006年式  GP MJ-GP1300R/WHITE > クランクシャフト&ピストン

見出番号

部品番号

部品名

数量

1

66V-11400-00

CRANKSHAFT ASSY

2

66E-11412-00

CRANK 1

3

90387-35M01

COLLAR

4

93390-000U6

BEARING

5

66E-11685-00

WASHER, CRANK PIN

6

93310-627U6

BEARING

7

66E-11651-00

ROD, CONNECTING

8

66E-11422-00

CRANK 2

9

93306-208U1

BEARING

10

66E-11515-00

SEAL, LABYRINTH 1

11

66V-11452-00

CRANK 5

12

66E-11431-00

CRANK 3

13

66E-11442-00

CRANK 4

14

93306-308U1

BEARING

15

93603-10049

ピン, ダウエル

16

93103-35011

オイル シ-ル

17

93101-34001

オイル シ-ル

18

93101-34002

オイル シ-ル

19

60T-11631-10-A0

ピストン (STD)
UR/RED

19

60T-11631-10-B0

ピストン (STD)
UR/ORANGE

19

60T-11631-10-C0

ピストン (STD)
UR/GREEN

19

60T-11631-10-D0

ピストン (STD)
UR/PURPLE

20

60T-11603-00

ピストンリングセツト (STD)

21

60T-11633-00

ピン,ピストン

22

93310-422U2

BEARING

23

90201-22M04

WASHER, PLATE

24

66E-11634-00

CLIP, PISTON PIN

25

66E-45813-10-94

FLANGE, COUPLING

26

66E-4581J-00

RUBBER SHAFT COUPLING

27

68N-45593-00-94

FLANGE, COUPLING 1

28

90201-248M5

ワツシヤ,プレ-ト