純正パーツカタログよりご注文又はお見積
YAMAHA MarineJet  2013年式  MJ-FZS イエロー F2CG Y > インテーク 1

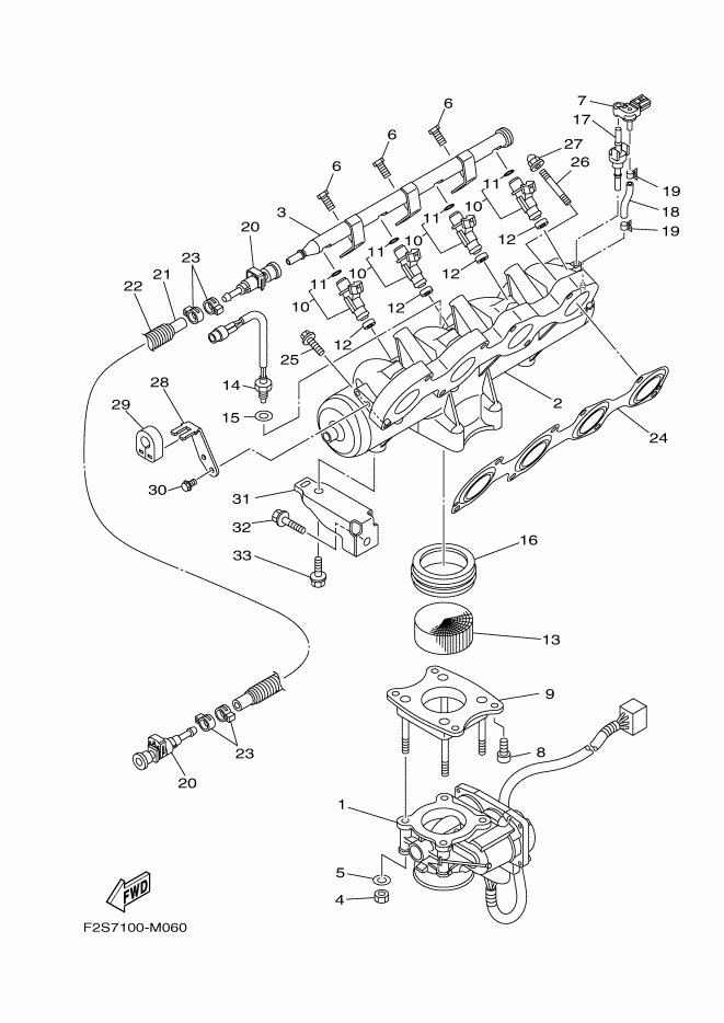
見出番号

部品番号

部品名

数量

1

6S5-13750-10

THROTTLE BODY ASSY

2

6S5-13641-A1

マニホ-ルド,インテ-ク 1

3

6CS-12880-00

デリバリイパイプ

4

6P2-13588-00

NUT

5

6P2-13578-00

WASHER

6

6CS-14446-00

ボルト

7

6BH-82380-00

センサ-,プレツシヤ-

8

6S5-14496-00

BOLT

9

6S5-14360-10

スロツトルダンパアセンブリ

10

6S5-13761-10

インジエクタアセンブリ

11

68V-1416A-00

O-リング

12

8FP-13556-10

ガスケツト,マニホ-ルド

13

6D3-1444B-00

リボン

14

6S5-85886-00

センサ,エアテンプラチユア

15

6S5-14285-00

ワツシヤ

16

6S5-14457-00

ホルダ

17

6BH-14445-00

グロメツト

18

6S5-13532-00

ホース,バキユームセンシング3

19

6S5-14159-00

クリツプ

20

6S5-24300-01

FUEL PIPE JOINT

21

6AN-14294-10

HOSE

22

90447-19017

TUBE (L495)

23

90450-17M17

HOSE CLAMP ASSY

24

6BH-13645-00

ガスケツト,マニホ-ルド 1

25

90119-08022

ボルト,ウイズワツシヤ

26

90116-08032

ボルト,スタツド

27

90176-08080

ナツト,クラウン

28

6CS-14572-00

プレ-ト,ステ-

29

6CS-14445-00

グロメツト

30

95023-06012

ボルト,フランジ

31

6CS-14413-00

STAY

32

90119-08099

BOLT, WITH WASHER

33

90119-08074

BOLT, WITH WASHER