純正パーツカタログよりご注文又はお見積
YAMAHA MarineJet  2013年式  MJ-VX SP ホワイト F2P7 W > インテーク 2

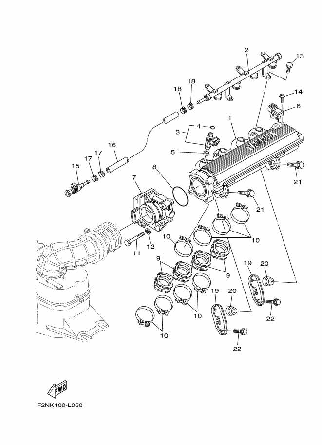
見出番号

部品番号

部品名

数量

1

6D3-13641-00

マニホ-ルド 1

2

6BU-12880-10

デリバリイパイプ

3

60E-13761-20

インジエクタアセンブリ

4

68V-1416A-00

O-リング

5

8FP-13556-10

ガスケツト,マニホ-ルド

6

68F-83688-10

センサアセンブリ

7

6BU-13750-00

スロツトルボデ-アセンブリ

8

6D3-14457-00

シ-ル

9

6D3-13795-01

ジヨイント, スロツトル ボデイ 1

10

90450-57006

ホ-スクランプアセンブリ

11

68V-13573-00

ボルト 1

12

68V-14475-00

ワツシヤ

13

63P-14446-00

ボルト

14

6D3-81147-00

スクリユ 3

15

6S5-24300-01

FUEL PIPE JOINT

16

6D3-14294-10

ホ-ス

17

90450-17M17

HOSE CLAMP ASSY

18

90450-17M17

HOSE CLAMP ASSY

19

6D3-14414-10

ステ- 2

20

60E-14449-00-94

カラ-

21

90119-08050

BOLT, WITH WASHER

22

90119-08074

BOLT, WITH WASHER