純正パーツカタログよりご注文又はお見積
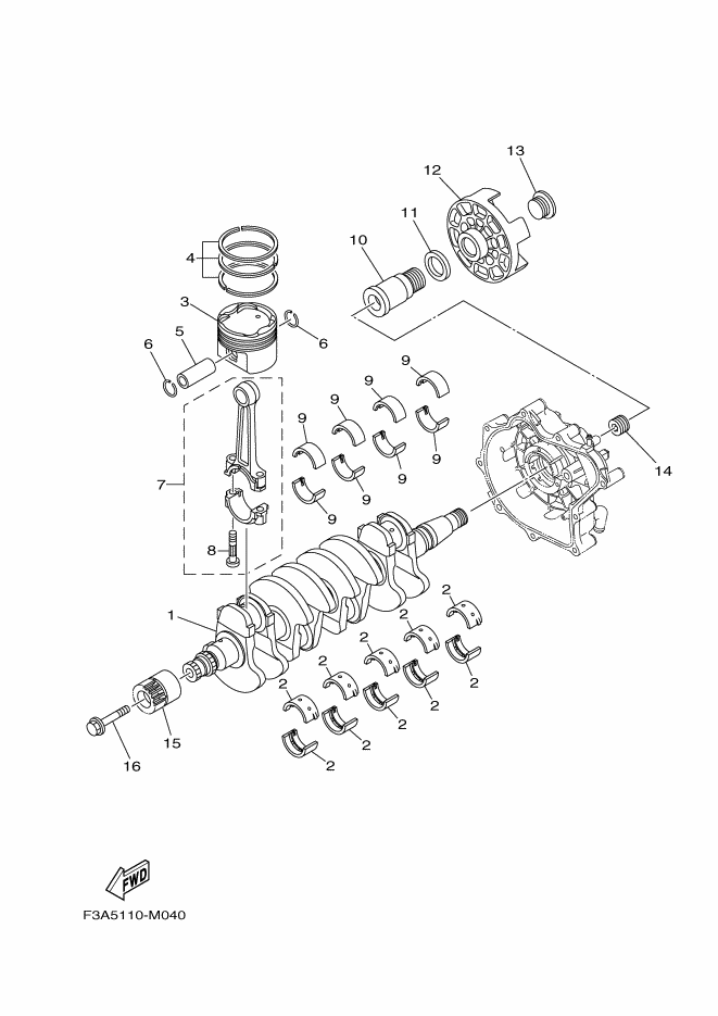
YAMAHA MarineJet  2014年式  MJ-FX Cruiser HO ピュアホワイト > CRANKSHAFT & PISTON

見出番号

部品番号

部品名

数量

1

6S5-11411-00

CRANKSHAFT

2

6S5-11416-00

プレ-ンベアリング,クランクシヤフト1
UR_BROWN

2

6S5-11416-10

プレ-ンベアリング,クランクシヤフト1
UR_BLACK

2

6S5-11416-20

プレ-ンベアリング,クランクシヤフト1
UR_BLUE

2

6S5-11416-30

プレ-ンベアリング,クランクシヤフト1
UR_GREEN

2

6S5-11416-40

プレ-ンベアリング,クランクシヤフト1
UR_YELLOW

3

6BH-11631-00-B0

ピストン(STD)

4

6S5-11603-00

ピストンリングセツト(STD)

5

6S5-11633-00

ピン,ピストン

6

93450-24028

サ-クリツプ

7

6BH-11650-10

コネクテイングロツドアセンブリ

8

6S5-11654-10

ボルト,コネクテイングロツド

9

6S5-11656-40

プレ-ンベアリング,コンロツド
UR_BLUE

9

6S5-11656-50

プレ-ンベアリング,コンロツド
UR_BLACK

9

6S5-11656-60

プレ-ンベアリング,コンロツド
UR_BROWN

9

6S5-11656-70

プレ-ンベアリング,コンロツド
UR_GREEN

10

6S5-17572-01

シヤフト,トランスフア

11

6S5-12289-00

ワツシヤ

12

6S5-45813-01-94

フランジ,カツプリング

13

6S5-17525-01

ホルダ2

14

6S5-11459-01

ナツト,スペシヤル

15

6BH-17586-10

ギア, トランスフア ドライブ

16

6S5-17031-00

ボルト