純正パーツカタログよりご注文又はお見積
YAMAHA MarineJet  2015年式  MJ-VX Cruiser ピュアホワイト > INTAKE

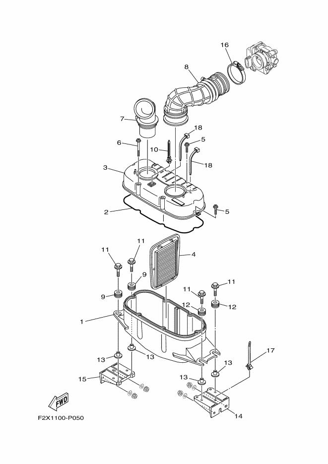
見出番号

部品番号

部品名

数量

1

6D3-14411-00

ケ-ス,エアクリ-ナ 1

2

4XV-14452-00

シ-ル

3

6D3-14421-02

ケ-ス,エアクリ-ナ- 2

4

6D3-14451-00

エレメント,エアクリ-ナ

5

90159-05013

スクリユ,ウイズワツシヤ

6

90159-05014

スクリユ,ウイズワツシヤ

7

6D3-14437-00

ダクト

8

6D3-14419-01

パイプ

9

90480-22M15

グロメツト

10

90464-12089

クランプ

11

90119-08M22

ボルト,ウイズワツシヤ

12

90480-22M15

グロメツト

13

90387-08M37

カラ-

14

F2N-U8572-00

ブラケツト 2

15

F2N-U8572-00

ブラケツト 2

16

90601-175UR

BAND, HOSE 75

17

90464-38800

クランプ

18

90464-40825

クランプ