
|
見出番号 |
部品番号 |
部品名 |
数量 |
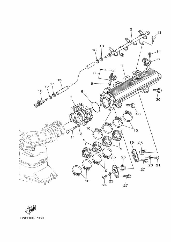
1 |
6D3-13641-00 |
マニホ-ルド 1
|
|
2 |
6BU-12880-11 |
|
|
3 |
60E-13761-20 |
インジエクタアセンブリ
|
|
4 |
68V-1416A-00 |
O-リング
|
|
5 |
8FP-13556-10 |
ガスケツト,マニホ-ルド
|
|
6 |
68F-83688-10 |
センサアセンブリ
|
|
7 |
6BU-13750-00 |
スロツトルボデ-アセンブリ
|
|
8 |
6D3-14457-00 |
シ-ル
|
|
9 |
6D3-13795-01 |
ジヨイント, スロツトル ボデイ 1
|
|
10 |
90450-57006 |
ホ-スクランプアセンブリ
|
|
11 |
68V-13573-00 |
ボルト 1
|
|
12 |
68V-14475-00 |
ワツシヤ
|
|
13 |
63P-14446-00 |
ボルト
|
|
14 |
6D3-81147-00 |
スクリユ 3
|
|
15 |
6S5-24300-01 |
FUEL PIPE JOINT
|
|
16 |
6D3-14294-10 |
ホ-ス
|
|
17 |
90450-17M17 |
HOSE CLAMP ASSY
|
|
18 |
90450-17M17 |
HOSE CLAMP ASSY
|
|
19 |
6EX-14414-00 |
|
|
20 |
60E-1244E-00 |
BRACKET 1
|
|
21 |
92014-06012 |
BOLT, BUTTON HEAD
|
|
22 |
6EX-14414-10 |
|
|
23 |
60E-1244E-00 |
BRACKET 1
|
|
24 |
92014-06012 |
BOLT, BUTTON HEAD
|
|
25 |
60E-14449-00-94 |
カラ-
|
|
26 |
90119-08050 |
BOLT, WITH WASHER
|
|
27 |
90119-08074 |
BOLT, WITH WASHER
|
|
|