純正パーツカタログよりご注文又はお見積
YAMAHA MarineJet  2015年式  MJ-VX Cruiser ピュアホワイト > OIL COOLER

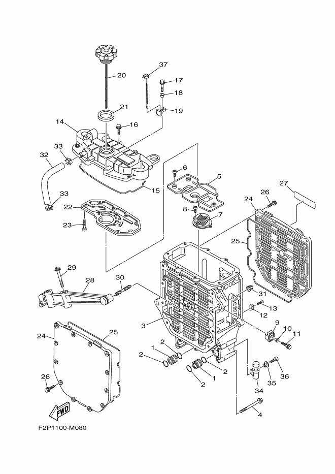
見出番号

部品番号

部品名

数量

1

60E-13446-00

コネクタ

2

93210-18322

O-リング

3

6D3-13462-00-94

ケ-ス,オイルク-ラ

4

90119-10020

ボルト,ウイズワツシヤ

5

6B6-13317-00

プレ-ト,バツフル

6

91317-05014

BOLT

7

60E-13421-00

STRAINER 2

8

91317-06014

ボルト,ヘキサゴンソケツトヘツド

9

6BU-85542-00

ブラケツト

10

90387-06M05

カラ-

11

97595-06520

ボルト,ウイズワツシヤ

12

6E5-11325-00

アノ-ド

13

98780-04015

スクリユ,フラツトヘツド

14

6D3-13463-00-94

カバー, オイルクーラ

15

60E-13475-00

GASKET

16

90105-06036

BOLT, FLANGE

17

90105-06035

ボルト,フランジ

18

90387-06M05

カラ-

19

6AA-85542-00

ブラケツト

20

6BU-15362-A0

プラグ,オイルレベル

21

60E-13473-00

O-RING

22

6D3-11165-00

プレ-ト,ブリ-ザ

23

91317-05016

ボルト,ソケツト

24

6D3-13443-00-94

カバ-, オイル ク-ラ-

25

60E-13476-10

ガスケツト

26

90105-06M07

ボルト,フランジ

27

60E-83627-00

ラベル,コ-シヨン7

28

6B6-13151-00-94

ステ-

29

90119-10M02

ボルト,ウイズワツシヤ

30

90116-10016

BOLT, STUD

31

90176-10001

ナツト,クラウン

32

6D3-11167-00

パイプ,ブリ-ザ 2

33

90467-170A4

クリツプ

34

6S5-81364-10

グロメツト

35

90387-06M05

カラ-

36

91380-06020

ボルト

37

90465-13M39

クランプ