純正パーツカタログよりご注文又はお見積
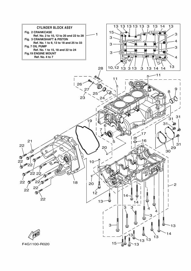
YAMAHA MarineJet  2016年式  VX Cruiser ライトグレーメタリック > CRANKCASE

見出番号

部品番号

部品名

数量

1

6EY-11110-00

シリンダヘツドコンプリート

2

6EY-11102-00

シリンダヘツドアセンブリ

3

2C0-11133-11

ガイド,バルブ1

4

8HF-11134-10

ガイド,バルブ2

5

90105-06027

ボルト,フランジ

6

95024-08012

ボルト,フランジ(スモールヘツド)

7

90430-08119

ガスケツト

8

90119-10004

ボルト,ウイズワツシヤ

9

6EY-11191-00

カバ-,シリンダヘツド 1

10

5BE-12241-00

ガイド,ストツパ2

11

6EY-11193-00

ガスケツト,ヘツドカバ-1

12

3Y1-15363-10

プラグ,オイル

13

93210-19123

O-リング

14

90109-066F0

ボルト

15

5VY-1111G-00

ラバ-,マウント1

16

6EY-11181-00

ガスケツト,シリンダヘツド1

17

91314-06065

ボルト,ヘキサゴンソケツトヘツド

18

6EY-1111E-00

ハンガ,エンジン 2

19

90119-06078

ボルト,ウイズワツシヤ

20

6EY-11119-00

ハンガ,エンジン