
|
見出番号 |
部品番号 |
部品名 |
数量 |
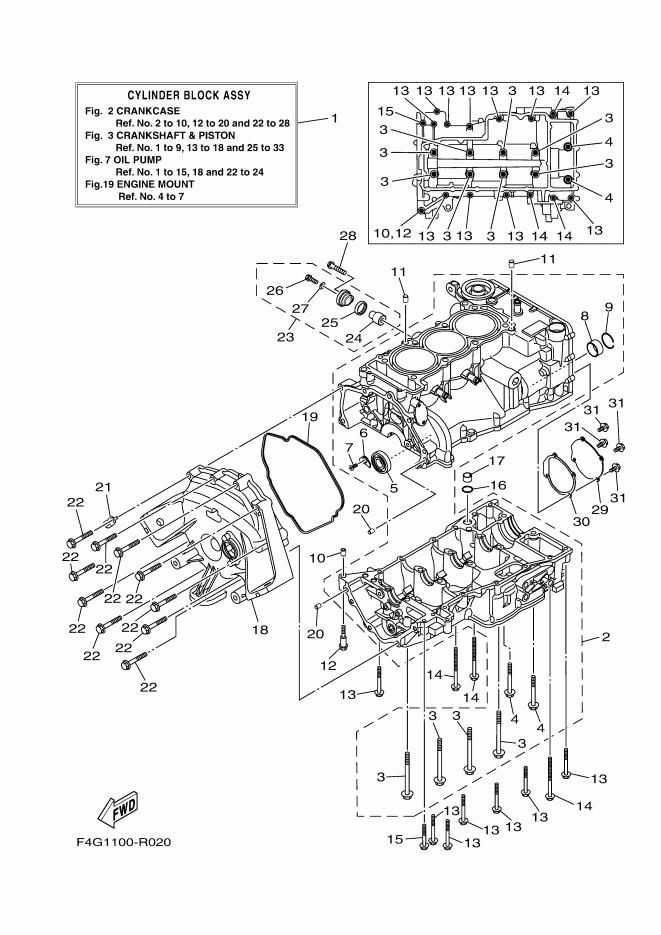
1 |
6EY-W009B-00 |
CYLINDER BLOCK ASSY
|
|
2 |
6EY-Y151S-00 |
CRANKCASE ASSY
|
|
3 |
90119-09004 |
ボルト,ウイズワツシヤ
|
|
4 |
95812-08070 |
ボルト,フランジ
|
|
5 |
93306-30323 |
ベアリング
|
|
6 |
4JT-15381-01 |
プレ-ト,ベアリングカバ-
|
|
7 |
90151-06024 |
スクリユ,カウンタサンク
|
|
8 |
8ES-11428-01 |
ベアリング1
|
|
9 |
93450-32152 |
サ-クリツプ
|
|
10 |
99530-10014 |
ピン,ダウエル
|
|
11 |
99530-10114 |
ピン,ダウエル
|
|
12 |
90109-06308 |
ボルト
|
|
13 |
90105-06214 |
ボルト,フランジ
|
|
14 |
90105-06215 |
ボルト,フランジ
|
|
15 |
90105-06087 |
ボルト,フランジ
|
|
16 |
93210-17010 |
O-リング
|
|
17 |
8ES-13284-00 |
パイプ
|
|
18 |
6EY-15421-00 |
カバ-,クランクケ-ス2
|
|
19 |
6EY-15461-00 |
ガスケツト,クランクケ-スカバ-2
|
|
20 |
99590-08012 |
ピン,ダウエル
|
|
21 |
6EY-15199-00 |
ブラケツト
|
|
22 |
97513-08555 |
ボルト,ウイズワツシヤ
|
|
23 |
69J-11301-10 |
アノードカバーアセンブリ
|
|
24 |
68V-11325-02 |
アノ-ド
|
|
25 |
67F-11328-00 |
グロメツト
|
|
26 |
90105-06M07 |
ボルト,フランジ
|
|
27 |
90430-06M03 |
ガスケツト
|
|
28 |
97595-08540 |
ボルト,ウイズワツシヤ
|
|
29 |
6EY-15589-00 |
【販売終了】プレ-ト
|
|
30 |
6EY-15463-00 |
ガスケツト, 2
|
|
31 |
95024-06012 |
ボルト,フランジ(スモールヘツド)
|
|
|