純正パーツカタログよりご注文又はお見積
YAMAHA MarineJet  2016年式  V1 Sport ホワイト×オレンジ > INTAKE

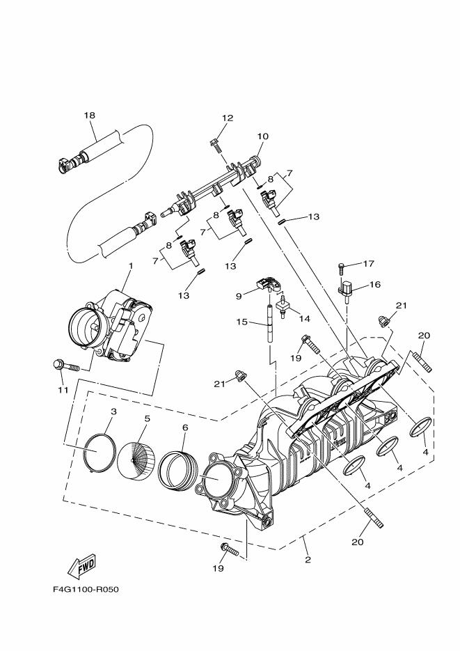
見出番号

部品番号

部品名

数量

1

6EY-13750-00

スロツトルボデ-アセンブリ

2

6EY-13641-00

マニホ-ルド,インテ-ク1

3

6EY-14156-00

ガスケツト,インシユレ-テイング

4

6EY-14126-00

ガスケツト

5

6D3-1444B-00

リボン

6

6EY-14457-00

SEAL

7

6EY-13761-00

INJECTOR

8

68V-1416A-00

O-リング

9

5S7-82380-00

センサ-,プレツシヤ-

10

6EY-12880-00

デリバリイパイプ

11

90105-08243

ボルト,フランジ

12

95814-06020

ボルト,フランジ

13

8FP-13556-10

ガスケツト,マニホ-ルド

14

6BH-14445-00

グロメツト

15

6EY-13532-00

ホース,バキユームセンシング3

16

8FP-85886-00

センサ,エアテンプラチユア

17

97702-50520

スクリユ,タツピング

18

6EY-2450B-00

FUEL HOSE ASSY

19

97513-08535

ボルト,ウイズワツシヤ

20

95612-08625

スタッドボルト

21

90176-08080

ナツト,クラウン