純正パーツカタログよりご注文又はお見積
YAMAHA MarineJet  2017年式  GP1800 ビビッドパープリッシュブルーメタル > CRANKCASE

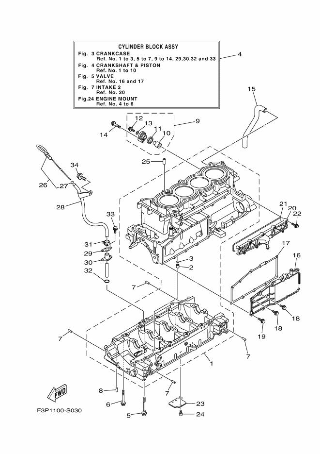
見出番号

部品番号

部品名

数量

1

6CS-15100-11

クランクケ-スアセンブリ

2

99530-10114

ピン,ダウエル

3

93210-11453

O-リング

4

6ET-W009B-01-94

シリンダブロツクアセンブリ

5

90105-10071

ボルト,フランジ

6

95814-06070

ボルト,フランジ

7

93606-12019

ピン,ダウエル

8

93604-10M03

ピン,ダウエル

9

69J-11301-10

アノードカバーアセンブリ

10

68V-11325-02

アノ-ド

11

67F-11328-00

グロメツト

12

90105-06M07

ボルト,フランジ

13

90430-06M03

ガスケツト

14

97595-08540

ボルト,ウイズワツシヤ

15

6S5-11377-00

ホ-ス

16

6S5-1131M-10-8P

カバ-

17

6BH-13557-00

ガスケツト

18

95024-06014

ボルト,フランジ(スモールヘツド)

19

95024-06020

ボルト,フランジ(スモールヘツド)

20

6CS-12469-A0

ジヨイント1

21

6CS-12517-00

ガスケツト,ウオータインレツト

22

95814-06035

ボルト,フランジ

23

6S5-13337-10

プレ-ト,バツフルロワ

24

90110-06182

ボルト,ヘキサゴンソケツトヘツド

25

99530-10114

ピン,ダウエル

26

6ET-15362-00

プラグ,オイルレベル

27

93210-06632

O-リング

28

6CS-8572F-00

パイプ, オイルレベル

29

6BH-1319K-00

プレ-ト

30

6CS-85516-00

スペ-サ

31

90467-150A1

クリツプ

32

93210-12016

O-リング

33

90109-06268

ボルト

34

90105-08021

ボルト,フランジ