
|
見出番号 |
部品番号 |
部品名 |
数量 |
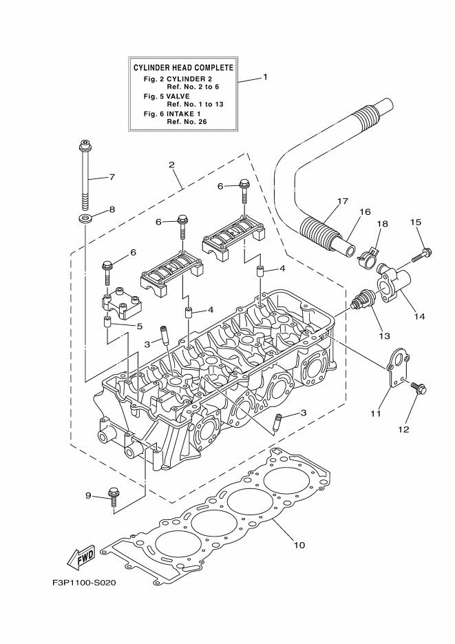
1 |
6ET-W009A-01-94 |
シリンダヘツドコンプリート
|
|
2 |
6S5-11102-11 |
シリンダ ヘツド アセンブリ
|
|
3 |
6S5-11133-10 |
ガイド,バルブ1
|
|
4 |
91809-16002 |
ピン,ダウエル
|
|
5 |
91809-16002 |
ピン,ダウエル
|
|
6 |
90105-07009 |
ボルト,フランジ
|
|
7 |
6S5-12228-01 |
ボルト
|
|
8 |
90201-12039 |
ワツシヤ,プレ-ト
|
|
9 |
97513-06555 |
ボルト,ウイズワツシヤ
|
|
10 |
6BH-11181-00 |
ガスケツト,シリンダヘツド 1
|
|
11 |
6BH-1111E-00 |
ハンガ,エンジン2
|
|
12 |
90119-06078 |
ボルト,ウイズワツシヤ
|
|
13 |
6D3-12411-00 |
サ-モスタツト
|
|
14 |
6BH-12413-00 |
カバ-,サ-モスタツト
|
|
15 |
90105-06035 |
ボルト,フランジ
|
|
16 |
6S5-12578-00 |
ホ-ス3
|
|
17 |
90447-28008 |
チユーブ(L850)
|
|
18 |
90467-240A0 |
クリツプ
|
|
|