純正パーツカタログよりご注文又はお見積
YAMAHA MarineJet  2017年式  VXR グリーンソリッド > CYLINDER 1

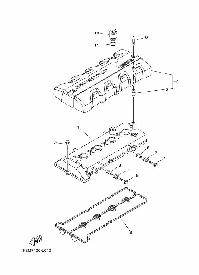
見出番号

部品番号

部品名

数量

1

6BH-11191-20

カバ-,シリンダヘツド1

2

90105-06028

ボルト,フランジ

3

6BH-11193-00

ガスケツト,ヘツドカバ-1

4

6BH-E110M-00

カバ-アセンブリ 1

5

6S5-E1328-00

グロメツト

6

6S5-E118E-00

ボルト,カバーマウント

7

61N-82317-00

ダンパ,イグニツシヨンコイル

8

90387-06119

カラ-

9

95824-06025

ボルト,フランジ

10

6S5-15363-00

プラグ,オイル

11

93210-24M79

O-リング