純正パーツカタログよりご注文又はお見積
YAMAHA MarineJet  2017年式  VX Cruiser ダークメタリック > CRANKCASE

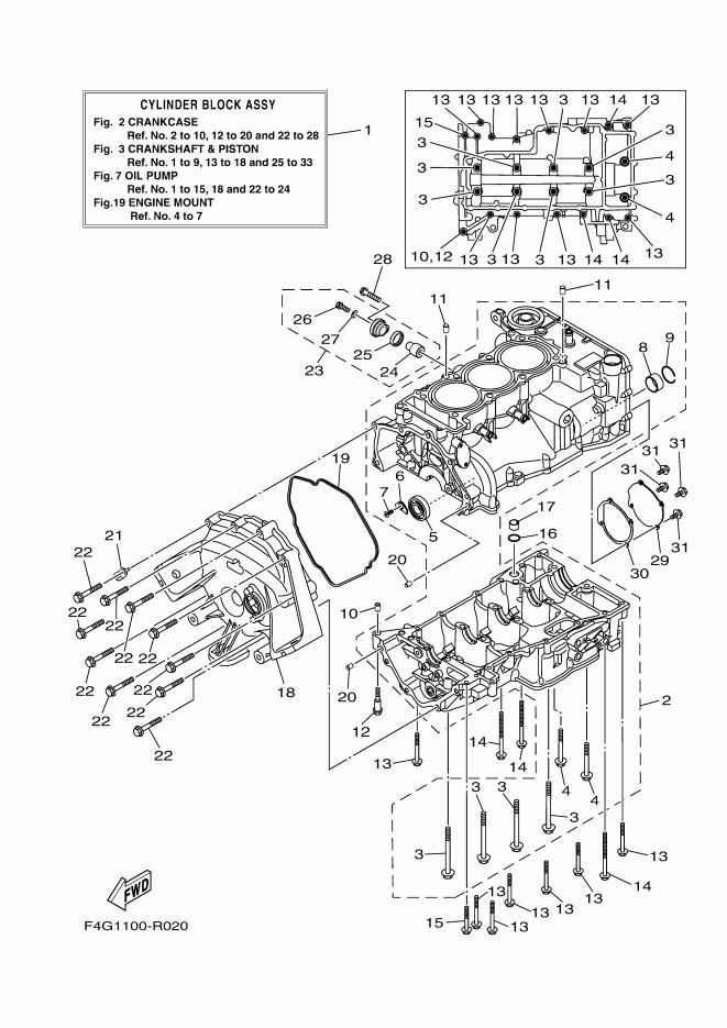
見出番号

部品番号

部品名

数量

1

6EY-W009B-00

CYLINDER BLOCK ASSY

2

6EY-Y151S-00

CRANKCASE ASSY

3

90119-09004

ボルト,ウイズワツシヤ

4

95812-08070

ボルト,フランジ

5

93306-30323

ベアリング

6

4JT-15381-01

プレ-ト,ベアリングカバ-

7

90151-06024

スクリユ,カウンタサンク

8

8ES-11428-01

ベアリング1

9

93450-32152

サ-クリツプ

10

99530-10014

ピン,ダウエル

11

99530-10114

ピン,ダウエル

12

90109-06308

ボルト

13

90105-06214

ボルト,フランジ

14

90105-06215

ボルト,フランジ

15

90105-06087

ボルト,フランジ

16

93210-17010

O-リング

17

8ES-13284-00

パイプ

18

6EY-15421-00

カバ-,クランクケ-ス2

19

6EY-15461-00

ガスケツト,クランクケ-スカバ-2

20

99590-08012

ピン,ダウエル

21

6EY-15199-00

ブラケツト

22

97513-08555

ボルト,ウイズワツシヤ

23

69J-11301-10

アノードカバーアセンブリ

24

68V-11325-02

アノ-ド

25

67F-11328-00

グロメツト

26

90105-06M07

ボルト,フランジ

27

90430-06M03

ガスケツト

28

97595-08540

ボルト,ウイズワツシヤ

29

6EY-15589-00

【販売終了】プレ-ト

30

6EY-15463-00

ガスケツト, 2

31

95024-06012

ボルト,フランジ(スモールヘツド)