
|
見出番号 |
部品番号 |
部品名 |
数量 |
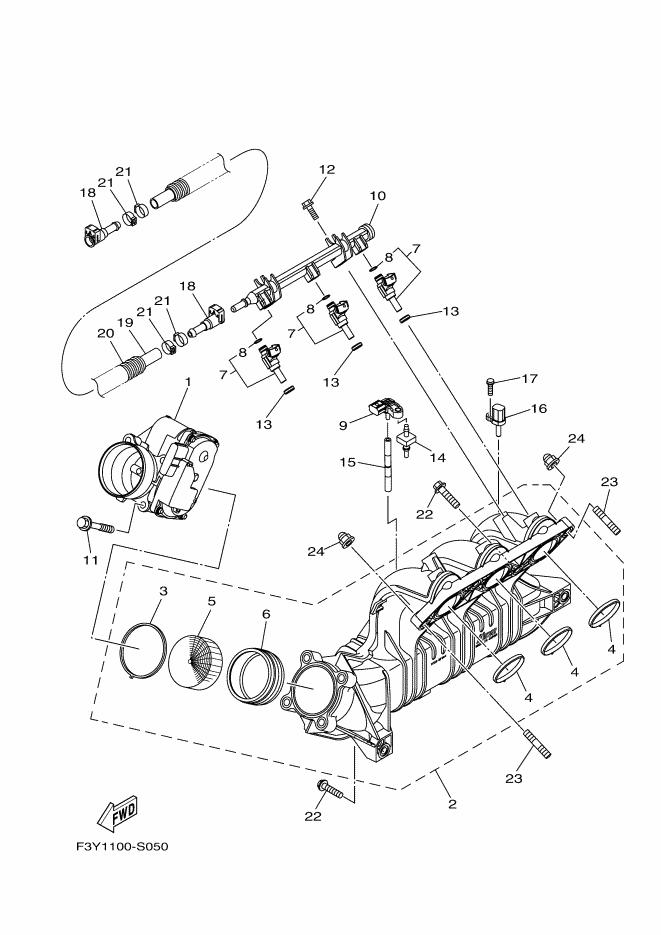
1 |
6EY-13750-00 |
スロツトルボデ-アセンブリ
|
|
2 |
6EY-13641-00 |
マニホ-ルド,インテ-ク1
|
|
3 |
6EY-14156-00 |
ガスケツト,インシユレ-テイング
|
|
4 |
6EY-14126-00 |
ガスケツト
|
|
5 |
6D3-1444B-00 |
リボン
|
|
6 |
6EY-14457-00 |
SEAL
|
|
7 |
6EY-13761-00 |
INJECTOR
|
|
8 |
68V-1416A-00 |
O-リング
|
|
9 |
5S7-82380-00 |
センサ-,プレツシヤ-
|
|
10 |
6EY-12880-00 |
デリバリイパイプ
|
|
11 |
90105-08243 |
ボルト,フランジ
|
|
12 |
95814-06020 |
ボルト,フランジ
|
|
13 |
8FP-13556-10 |
ガスケツト,マニホ-ルド
|
|
14 |
6BH-14445-00 |
グロメツト
|
|
15 |
6EY-13532-00 |
ホース,バキユームセンシング3
|
|
16 |
8FP-85886-00 |
センサ,エアテンプラチユア
|
|
17 |
97702-50520 |
スクリユ,タツピング
|
|
18 |
6S5-24300-01 |
FUEL PIPE JOINT
|
|
19 |
6CN-14294-10 |
HOSE
|
|
20 |
90447-19020 |
TUBE (L610)
|
|
21 |
90450-17M17 |
HOSE CLAMP ASSY
|
|
22 |
97513-08535 |
ボルト,ウイズワツシヤ
|
|
23 |
95612-08625 |
スタッドボルト
|
|
24 |
90176-08080 |
ナツト,クラウン
|
|
|