純正パーツカタログよりご注文又はお見積
YAMAHA MarineJet  2018年式  MJ-FX Cruiser SVHO Azure Blue Metallic > シリンダ 1

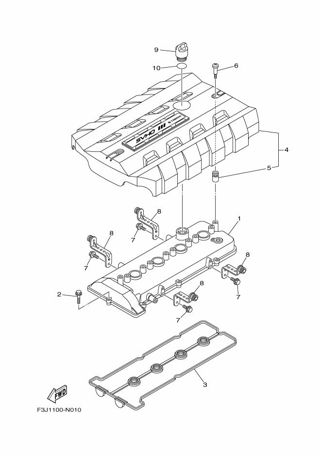
見出番号

部品番号

部品名

数量

1

6S5-11191-20

カバ-,シリンダヘツド1

2

90105-06028

ボルト,フランジ

3

6BH-11193-00

ガスケツト,ヘツドカバ-1

4

6ET-E110M-00

カバ-アセンブリ 1

5

6S5-E1328-00

グロメツト

6

6S5-E118E-00

ボルト,カバーマウント

7

95814-06012

ボルト,フランジ

8

6S5-11941-10

ステ-

9

6S5-15363-00

プラグ,オイル

10

93210-24M79

O-リング