純正パーツカタログよりご注文又はお見積
YAMAHA MarineJet  2018年式  MJ-FX Cruiser HO Pure White > シリンダ 2

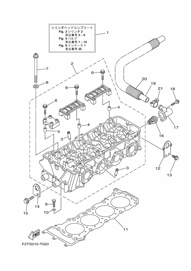
見出番号

部品番号

部品名

数量

1

6BH-W009A-03-94

シリンダヘツドコンプリート

2

6BH-11102-11

シリンダ ヘツド アセンブリ

3

6S5-11133-10

ガイド,バルブ1

4

91809-16002

ピン,ダウエル

5

91809-16002

ピン,ダウエル

6

90105-07009

ボルト,フランジ

7

6S5-12228-01

ボルト

8

90201-12039

ワツシヤ,プレ-ト

9

97013-06055

ボルト

10

92903-06600

ワツシヤ,プレ-ト

11

6BH-11181-00

ガスケツト,シリンダヘツド 1

12

6BH-1111E-00

ハンガ,エンジン2

13

90119-06078

ボルト,ウイズワツシヤ

14

6BH-11119-00

ハンガ,エンジン

15

97513-10525

ボルト,ウイズワツシヤ

16

6D3-12411-00

サ-モスタツト

17

6BH-12413-00

カバ-,サ-モスタツト

18

90105-06035

ボルト,フランジ

19

6S5-12578-00

ホ-ス3

20

90447-28008

チユーブ(L850)

21

90467-240A0

クリツプ