純正パーツカタログよりご注文又はお見積
YAMAHA MarineJet  2018年式  MJ-VXR Black Metallic with Azure Blue Metallic > クランクケ-ス

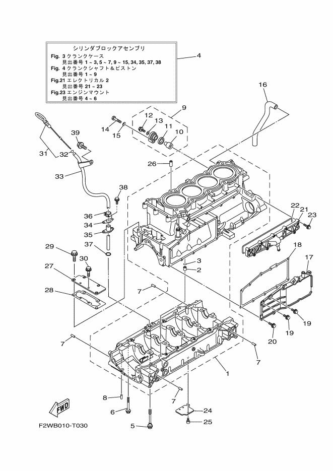
見出番号

部品番号

部品名

数量

1

6CR-15100-11

クランクケ-スアセンブリ

2

99530-10114

ピン,ダウエル

3

93210-11453

O-リング

4

6CR-W009B-11-94

シリンダブロツクアセンブリ

5

90105-10071

ボルト,フランジ

6

95814-06070

ボルト,フランジ

7

93606-12019

ピン,ダウエル

8

93604-10M03

ピン,ダウエル

9

69J-11301-10

アノードカバーアセンブリ

10

68V-11325-02

アノ-ド

11

67F-11328-00

グロメツト

12

90105-06M07

ボルト,フランジ

13

90430-06M03

ガスケツト

14

97095-08040

ボルト

15

92995-08600

ワツシヤ

16

6S5-11377-00

ホ-ス

17

6S5-1131M-10-8P

カバ-

18

6BH-13557-00

ガスケツト

19

95024-06014

ボルト,フランジ(スモールヘツド)

20

95024-06020

ボルト,フランジ(スモールヘツド)

21

6CS-12469-A0

ジヨイント1

22

6CS-12517-00

ガスケツト,ウオータインレツト

23

95814-06035

ボルト,フランジ

24

6S5-13337-10

プレ-ト,バツフルロワ

25

90110-06182

ボルト,ヘキサゴンソケツトヘツド

26

99530-10114

ピン,ダウエル

27

6BH-1131C-00

カバー,ジヨイント

28

6BH-1131B-00

ガスケツト,カバー

29

95814-08020

ボルト,フランジ

30

95814-06016

ボルト,フランジ

31

6ET-15362-00

プラグ,オイルレベル

32

93210-06632

O-リング

33

6CS-8572F-00

パイプ, オイルレベル

34

6BH-1319K-00

プレ-ト

35

6CS-85516-00

スペ-サ

36

90467-150A1

クリツプ

37

93210-12016

O-リング

38

90109-06268

ボルト

39

90105-08021

ボルト,フランジ