純正パーツカタログよりご注文又はお見積
YAMAHA MarineJet  2018年式  MJ-EX Deluxe Carbon Metallic with Electric Green > インテ-ク 2

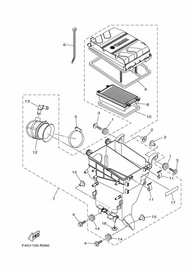
見出番号

部品番号

部品名

数量

1

90480-22M15

グロメツト

2

90387-08M37

カラ-

3

90119-08169

ボルト,ウイズワツシヤ

4

90119-08M22

ボルト,ウイズワツシヤ

5

90450-90002

ホ-スクランプアセンブリ

6

90465-13M18

クランプ

7

6EY-14410-00

エアクリ-ナアセンブリ

8

6EY-14451-00

エレメント,エアクリ-ナ

9

6EY-14462-00

シ-ル

10

6EY-14452-00

シ-ル

11

6EY-14436-00

フツク

12

6EY-14419-00

パイプ

13

6EY-14485-00

パイプ,ジヨイント

14

90480-22M15

グロメツト

15

90387-08M37

カラ-

16

6EY-14470-00

バルブ

17

60E-83627-00

ラベル,コ-シヨン7