
|
見出番号 |
部品番号 |
部品名 |
数量 |
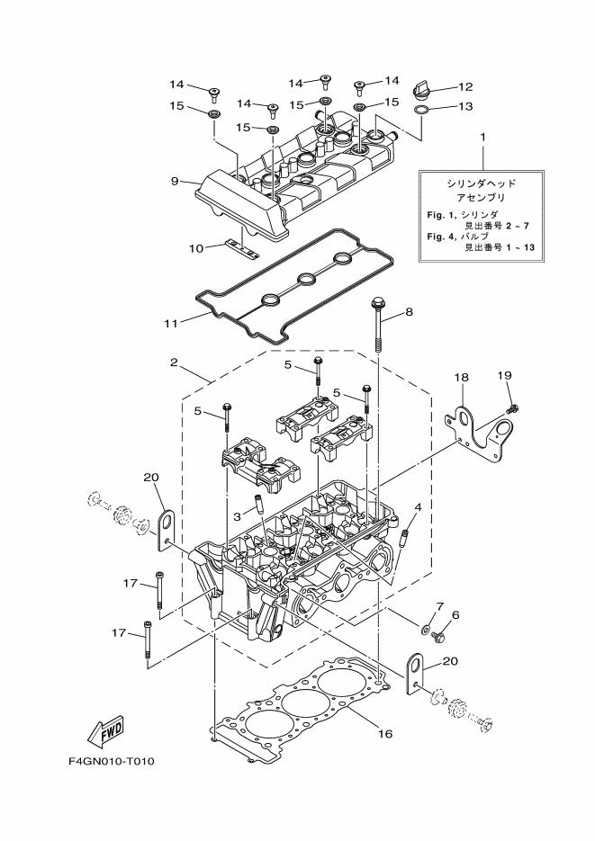
1 |
6EY-11110-00 |
シリンダヘツドコンプリート
|
|
2 |
6EY-11102-00 |
シリンダヘツドアセンブリ
|
|
3 |
2C0-11133-11 |
ガイド,バルブ1
|
|
4 |
8HF-11134-10 |
ガイド,バルブ2
|
|
5 |
90105-06027 |
ボルト,フランジ
|
|
6 |
95024-08012 |
ボルト,フランジ(スモールヘツド)
|
|
7 |
90430-08119 |
ガスケツト
|
|
8 |
90119-10004 |
ボルト,ウイズワツシヤ
|
|
9 |
6EY-11191-00 |
カバ-,シリンダヘツド 1
|
|
10 |
5BE-12241-00 |
ガイド,ストツパ2
|
|
11 |
6EY-11193-00 |
ガスケツト,ヘツドカバ-1
|
|
12 |
3Y1-15363-10 |
プラグ,オイル
|
|
13 |
93210-19123 |
O-リング
|
|
14 |
90109-066F0 |
ボルト
|
|
15 |
5VY-1111G-00 |
ラバ-,マウント1
|
|
16 |
6EY-11181-00 |
ガスケツト,シリンダヘツド1
|
|
17 |
91314-06065 |
ボルト,ヘキサゴンソケツトヘツド
|
|
18 |
6EY-1111E-00 |
ハンガ,エンジン 2
|
|
19 |
90119-06078 |
ボルト,ウイズワツシヤ
|
|
20 |
6EY-11119-00 |
ハンガ,エンジン
|
|
|