純正パーツカタログよりご注文又はお見積
YAMAHA MarineJet  2018年式  MJ-EX Deluxe Azure Blue Metallic > オイルク-ラ-

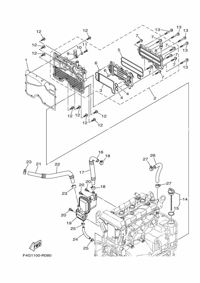
見出番号

部品番号

部品名

数量

1

6EY-15453-00

ガスケツト

2

6EY-13470-00

オイルク-ラアセンブリ

3

6EY-13556-00

ガスケツト,マニホ-ルド

4

93210-19522

O-リング

5

6EY-13557-00

ガスケツト

6

93606-19M23

ピン,ダウエル

7

95814-06035

ボルト,フランジ

8

90480-06M46

グロメツト

9

6S5-81364-10

グロメツト

10

90387-06M05

カラ-

11

91380-06020

ボルト

12

95814-06020

ボルト,フランジ

13

95814-06055

ボルト,フランジ

14

6EY-15362-00

プラグ,オイルレベル

15

93210-24M79

O-リング

16

6EY-11166-00

パイプ,ブリ-ザ 1

17

90447-19004

ホース,ウイズスプリング(L130)

18

90467-170A4

クリツプ

19

6EY-11164-00

セパレータ,オイル

20

90105-06M15

ボルト,フランジ

21

90445-18020

ホ-ス(L420)

22

90446-24MF4

ホ-ス(L350)

23

90467-170A4

クリツプ

24

6EY-11125-00

パイプ,ブリ-ザ4

25

90467-110A1

クリツプ

26

6EY-11126-00

パイプ,ブリ-ザ 3

27

90467-170A4

クリツプ