純正パーツカタログよりご注文又はお見積
YAMAHA MarineJet  2018年式  MJ-SuperJet > クランクシヤフト & ピストン

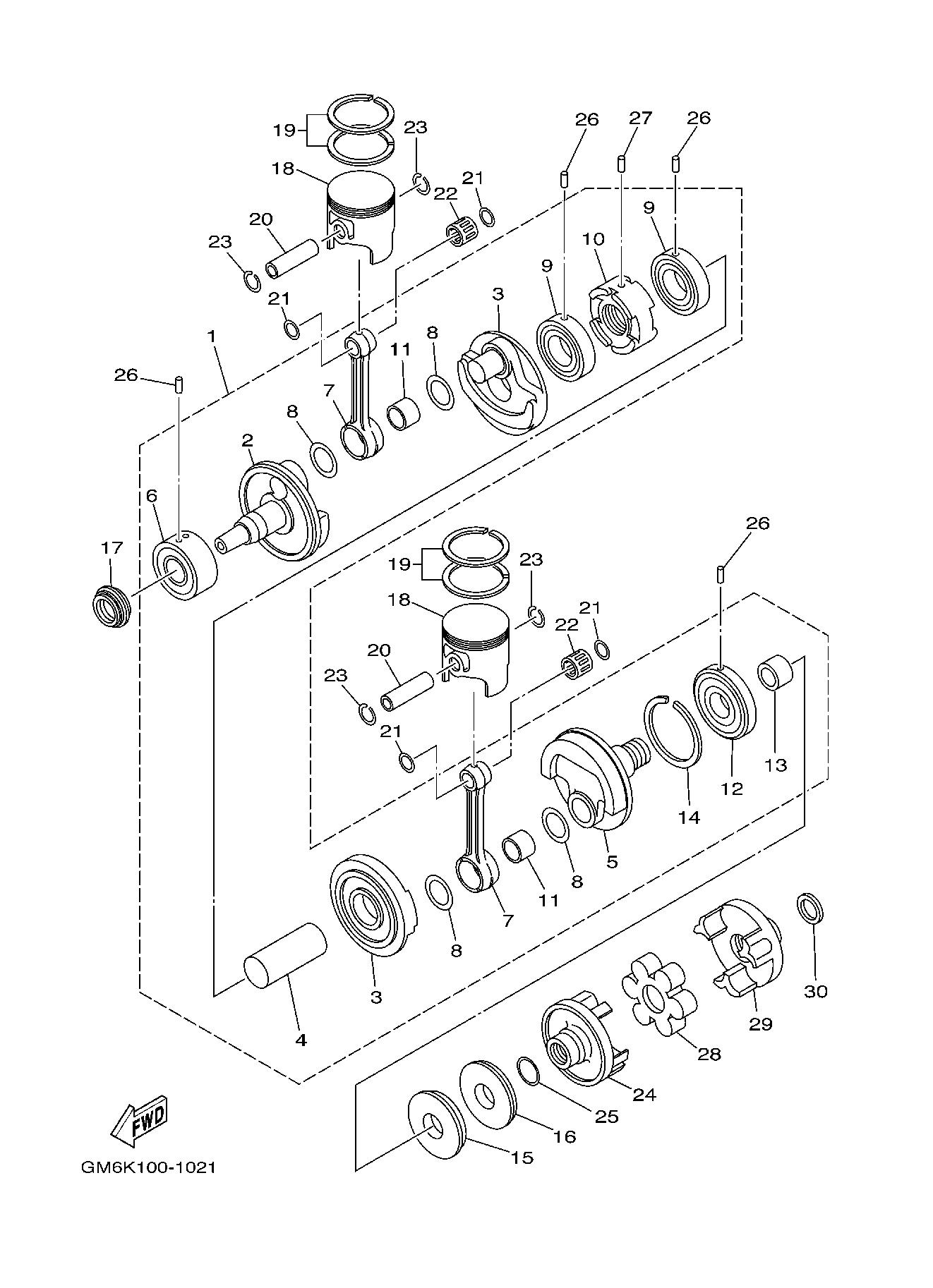
見出番号

部品番号

部品名

数量

1

61X-11400-03

クランクシヤフトアセンブリ

2

6M6-11412-00

クランク 1

3

6M6-11422-00

クランク 2

4

6M6-11431-10

クランク 3

5

6M6-11442-01

クランク 4

6

93305-30601

ベアリング

7

64X-11651-01

ロツド,コネクテイング

8

82M-11685-00

ワツシヤ,クランクピン

9

93306-207U2

ベアリング

10

65U-11515-00

シ-ル,ラビリンス 1

11

93310-525U0

ベアリング

12

93306-307U3

ベアリング

13

62T-45526-00

カラ-,ドライブシヤフト

14

93440-80023

サ-クリツプ

15

93102-36M33

オイルシ-ル

16

93101-36M46

オイルシ-ル

17

93103-32M01

オイルシ-ル

18

61X-11631-02-93

ピストン (STD)

18

61X-11635-02

ピストン (025MM O/S)

18

61X-11636-02

ピストン (050MM O/S)

19

61X-11603-01

ピストンリングセツト (STD)

19

61X-11604-01

ピストンリングセツト (025MM O/S)

19

61X-11605-01

ピストンリングセツト (050MM O/S)

20

61X-11633-00

ピン,ピストン

21

90201-20M04

ワツシヤ,プレ-ト

22

93310-320U2

ベアリング

23

93450-21053

サ-クリツプ

24

6M6-45813-32-8P

フランジ,カツプリング

25

62T-45127-00

シール

26

93603-10049

ピン, ダウエル

27

93604-07141

ピン,ダウエル

28

61X-4581J-00

ラバ-シヤフトカツプリング

29

6M6-45813-22-8P

フランジ,カツプリング

30

90201-24M02

ワツシヤ,プレ-ト