純正パーツカタログよりご注文又はお見積
KAWASAKI JETSKI  2018年式  ULTRA 310R JT1500NJF > シリンダ/ピストン

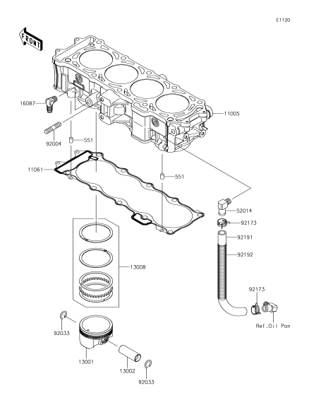
見出番号

部品番号

部品名

数量

11005

11005-0630

シリンダ(エンジン)
シリンダ(エンジン)

11061

11061-3770

ガスケツト,シリンダ ベース
ガスケツト,シリンダ

13001

13001-0787

ピストン(エンジン)
ピストン(エンジン)

13002

13002-1131

ピン(ピストン)
ピン(ピストン)

13008

13008-0564

リングセツト(ピストン)
リングセツト(ピストン)

16087

16087-3714

バルブ(チエツク)
バルブ(チエツク)

52014

52014-3717

エルボ
エルボ

551

551R0812

ノツク ピン
ノツク

92004

92004-3759

スタツド,10X32
スタツド,10X32

92033

92033-1188

リング(スナツプ)
リング(スナツプ)

92173

92173-1039

クランプ
クランプ

92191

92191-3983

チユ-ブ,ブリ-ザ
チユ-ブ,ブリ-ザ

92192

92192-1083

チユ-ブ,コルゲート,L=265
チユ-ブ,コルゲート,L=265