純正パーツカタログよりご注文又はお見積
YAMAHA MarineJet  2019年式  FX CRUISER SVHO Carbon Metallic with Torch Red > シリンダ 2

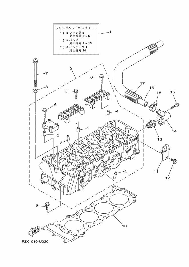
見出番号

部品番号

部品名

数量

1

6ET-W009A-01-94

シリンダヘツドコンプリート

2

6S5-11102-11

シリンダ ヘツド アセンブリ

3

6S5-11133-10

ガイド,バルブ1

4

91809-16002

ピン,ダウエル

5

91809-16002

ピン,ダウエル

6

90105-07009

ボルト,フランジ

7

6S5-12228-01

ボルト

8

90201-12039

ワツシヤ,プレ-ト

9

97513-06555

ボルト,ウイズワツシヤ

10

6BH-11181-00

ガスケツト,シリンダヘツド 1

11

6BH-1111E-00

ハンガ,エンジン2

12

90119-06078

ボルト,ウイズワツシヤ

13

6D3-12411-00

サ-モスタツト

14

6BH-12413-00

カバ-,サ-モスタツト

15

90105-06035

ボルト,フランジ

16

6S5-12578-00

ホ-ス3

17

90447-28008

チユーブ(L850)

18

90467-240A0

クリツプ