
|
見出番号 |
部品番号 |
部品名 |
数量 |
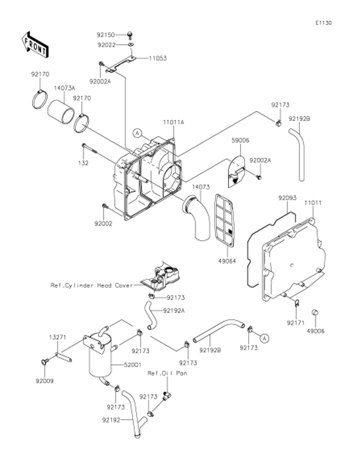
11011 |
11011-3704 |
ケ-ス(エアフイルタ),RR ケ-ス(エアフイルタ),RR
|
|
11011A |
11011-3706 |
ケ-ス(エアフイルタ) ケ-ス(エアフイルタ),FR
|
|
11053 |
11053-3789 |
ブラケツト ブラケツト
|
|
132 |
132BD0660 |
ボルト(コガタツバツキ),6X60 ボルト(コガタツバツキ),6X60
|
|
13271 |
13271-3880 |
プレ-ト プレ-ト
|
|
14073 |
14073-3794 |
ダクト,エア フイルタ(ASV) ダクト,エア
|
|
14073A |
14073-3795 |
ダクト,エア フイルタ(スロツトル) ダクト,エア
|
|
49006 |
49006-3718 |
ブ-ツ,ドレン ブ-ツ,ドレン
|
|
49064 |
49064-3702 |
フイルタ(エア) フイルタ(エア)
|
|
52001 |
52001-0010 |
タンク(オイル) タンク(オイル)
|
|
59006 |
59006-3720 |
アレスタ(フレ-ム) アレスタ(フレ-ム)
|
|
92002 |
92002-3728 |
ボルト,6X16 ボルト,6X16
|
|
92002A |
92002-3763 |
ボルト ボルト,6X12
|
|
92009 |
92009-3870 |
スクリユ-,M16X16 スクリユ-,6X20
|
|
92022 |
92022-3743 |
ワツシヤ,8.2X18X1.5 ワツシヤ,8.2X18X1.5
|
|
92093 |
92093-3766 |
シ-ル シ-ル
|
|
92150 |
92150-3713 |
ボルト ボルト,8X20
|
|
92170 |
92170-3764 |
クランプ クランプ
|
|
92171 |
92171-3711 |
クランプ,ブ-ツ クランプ,ブ-ツ
|
|
92173 |
92173-1039 |
クランプ クランプ
|
|
92192 |
92192-3701 |
チユ-ブ,セパレ-タ(オイルプラン) チユーブ,セパレータ-オイルパン
|
|
92192A |
92192-3719 |
チユ-ブ チユ-ブ,ヘツド-セパレータ
|
|
92192B |
92192-3725 |
チユ-ブ チユ-ブ,ブローバイ
|
|
|