純正パーツカタログよりご注文又はお見積
YAMAHA MarineJet  2020年式  MJ-FX Cruiser SVHO ライトグレーメタリック3 > シリンダ 2

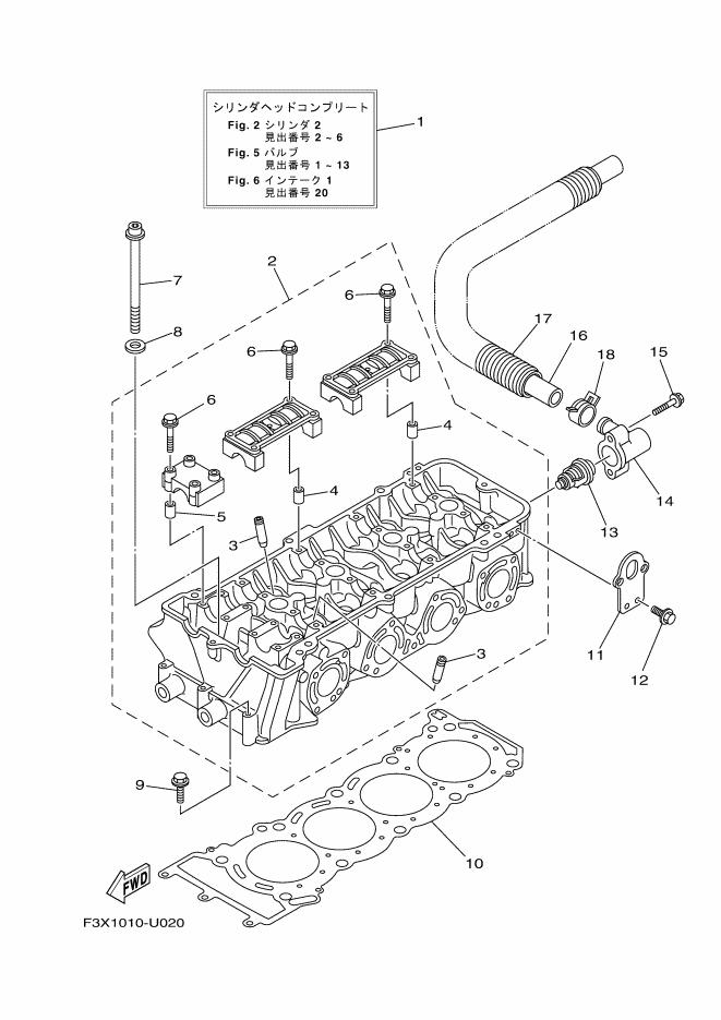
見出番号

部品番号

部品名

数量

1

6ET-W009A-01-94

シリンダヘツドコンプリート
シリンダヘツドコンプリート(1個)

2

6S5-11102-11

シリンダ ヘツド アセンブリ
シリンダヘツドアセンブリ(1個)

3

6S5-11133-10

ガイド,バルブ1
.ガイド,バルブ1(16個)

4

91809-16002

ピン,ダウエル
.ピン,ダウエル(8個)

5

91809-16002

ピン,ダウエル
.ピン,ダウエル(4個)

6

90105-07009

ボルト,フランジ
.ボルト,フランジ(24個)

7

6S5-12228-01

ボルト
ボルト(10個)

8

90201-12039

ワツシヤ,プレ-ト
ワツシヤ,プレ-ト(10個)

9

97513-06555

ボルト,ウイズワツシヤ
ボルト,ウイズワツシヤ(3個)

10

6BH-11181-00

ガスケツト,シリンダヘツド 1
ガスケツト,シリンダヘツド1(1個)

11

6BH-1111E-00

ハンガ,エンジン2
ハンガ,エンジン2(2個)

12

90119-06078

ボルト,ウイズワツシヤ
ボルト,ウイズワツシヤ(4個)

13

6D3-12411-00

サ-モスタツト
サ-モスタツト(1個)

14

6BH-12413-00

カバ-,サ-モスタツト
カバ-,サ-モスタツト(1個)

15

90105-06035

ボルト,フランジ
ボルト,フランジ(2個)

16

6S5-12578-00

ホ-ス3
ホ-ス3(1個)

17

90447-28008

チユーブ(L850)
チユーブ(L850)(1個)

18

90467-240A0

クリツプ
クリツプ(1個)