
|
見出番号 |
部品番号 |
部品名 |
数量 |
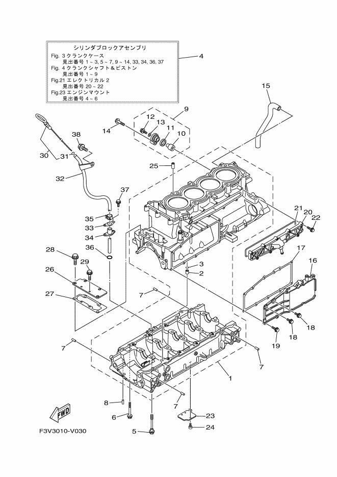
1 |
6CR-15100-11 |
クランクケ-スアセンブリ クランクケ-スアセンブリ(1個)
|
|
2 |
99530-10114 |
ピン,ダウエル .ピン,ダウエル(1個)
|
|
3 |
93210-11453 |
O-リング .O-リング(1個)
|
|
4 |
6CR-W009B-11-94 |
シリンダブロツクアセンブリ シリンダブロツクアセンブリ(1個)
|
|
5 |
90105-10071 |
ボルト,フランジ ボルト,フランジ(10個)
|
|
6 |
95814-06070 |
ボルト,フランジ ボルト,フランジ(12個)
|
|
7 |
93606-12019 |
ピン,ダウエル ピン,ダウエル(8個)
|
|
8 |
93604-10M03 |
ピン,ダウエル ピン,ダウエル(2個)
|
|
9 |
69J-11301-10 |
アノードカバーアセンブリ アノードカバーアセンブリ(1個)
|
|
10 |
68V-11325-02 |
アノ-ド .アノ-ド(1個)
|
|
11 |
67F-11328-00 |
グロメツト .グロメツト(1個)
|
|
12 |
90105-06M07 |
ボルト,フランジ .ボルト,フランジ(1個)
|
|
13 |
90430-06M03 |
ガスケツト .ガスケツト(1個)
|
|
14 |
97E95-08540 |
ボルト,ヘキサゴンウイズワツシヤデイープリセス ボルト,ヘキサゴンウイズワツシヤデイープリセス(1個)
|
|
15 |
6S5-11377-00 |
ホ-ス ホ-ス(1個)
|
|
16 |
6S5-1131M-10-8P |
カバ- カバ-(1個)
|
|
17 |
6BH-13557-00 |
ガスケツト ガスケツト(1個)
|
|
18 |
95024-06014 |
ボルト,フランジ(スモールヘツド) ボルト,フランジ(スモールヘツド)(2個)
|
|
19 |
95024-06020 |
ボルト,フランジ(スモールヘツド) ボルト,フランジ(スモールヘツド)(9個)
|
|
20 |
6CS-12469-A0 |
ジヨイント1 ジヨイント1(1個)
|
|
21 |
6CS-12517-00 |
ガスケツト,ウオータインレツト ガスケツト,ウオータインレツト(1個)
|
|
22 |
95814-06035 |
ボルト,フランジ ボルト,フランジ(9個)
|
|
23 |
6S5-13337-10 |
プレ-ト,バツフルロワ プレ-ト,バツフルロワ(1個)
|
|
24 |
90110-06182 |
ボルト,ヘキサゴンソケツトヘツド ボルト,ヘキサゴンソケツトヘツド(1個)
|
|
25 |
99530-10114 |
ピン,ダウエル ピン,ダウエル(2個)
|
|
26 |
6BH-1131C-00 |
カバー,ジヨイント カバー,ジヨイント(1個)
|
|
27 |
6BH-1131B-00 |
ガスケツト,カバー ガスケツト,カバー(1個)
|
|
28 |
95814-08020 |
ボルト,フランジ ボルト,フランジ(4個)
|
|
29 |
95814-06016 |
ボルト,フランジ ボルト,フランジ(2個)
|
|
30 |
6ET-15362-00 |
プラグ,オイルレベル プラグ,オイルレベル(1個)
|
|
31 |
93210-06632 |
O-リング .O-リング(1個)
|
|
32 |
6CS-8572F-00 |
パイプ, オイルレベル パイプ,オイルレベル(1個)
|
|
33 |
6BH-1319K-00 |
プレ-ト プレ-ト(1個)
|
|
34 |
6CS-85516-00 |
スペ-サ スペ-サ(1個)
|
|
35 |
90467-150A1 |
クリツプ クリツプ(1個)
|
|
36 |
93210-12016 |
O-リング O-リング(1個)
|
|
37 |
90109-06268 |
ボルト ボルト(2個)
|
|
38 |
90105-08021 |
ボルト,フランジ ボルト,フランジ(1個)
|
|
|