
|
見出番号 |
部品番号 |
部品名 |
数量 |
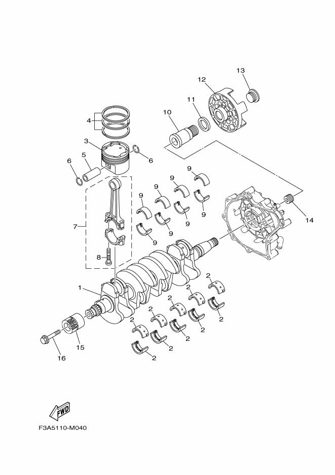
1 |
6ET-11411-00 |
クランクシヤフト クランクシヤフト(1個)
|
|
2 |
6S5-11416-00 |
プレ-ンベアリング,クランクシヤフト1 プレ-ンベアリング,クランクシヤフト1URブラウン(10個)
|
|
2 |
6S5-11416-10 |
プレ-ンベアリング,クランクシヤフト1 プレ-ンベアリング,クランクシヤフト1URブラツク(10個)
|
|
2 |
6S5-11416-20 |
プレ-ンベアリング,クランクシヤフト1 プレ-ンベアリング,クランクシヤフト1URブルー(10個)
|
|
2 |
6S5-11416-30 |
プレ-ンベアリング,クランクシヤフト1 プレ-ンベアリング,クランクシヤフト1URグリーン(10個)
|
|
2 |
6S5-11416-40 |
プレ-ンベアリング,クランクシヤフト1 プレ-ンベアリング,クランクシヤフト1URイエロー(10個)
|
|
3 |
6BH-11631-00-B0 |
ピストン(STD) ピストン(STD)(4個)
|
|
4 |
6S5-11603-00 |
ピストンリングセツト(STD) ピストンリングセツト(STD)(4個)
|
|
5 |
6S5-11633-00 |
ピン,ピストン ピン,ピストン(4個)
|
|
6 |
93450-24028 |
サ-クリツプ サ-クリツプ(8個)
|
|
7 |
6BH-11650-10 |
コネクテイングロツドアセンブリ コネクテイングロツドアセンブリ(4個)
|
|
8 |
6S5-11654-10 |
ボルト,コネクテイングロツド .ボルト,コネクテイングロツド(2個)
|
|
9 |
6S5-11656-40 |
プレ-ンベアリング,コンロツド プレ-ンベアリング,コンロツドURブルー(8個)
|
|
9 |
6S5-11656-50 |
プレ-ンベアリング,コンロツド プレ-ンベアリング,コンロツドURブラツク(8個)
|
|
9 |
6S5-11656-60 |
プレ-ンベアリング,コンロツド プレ-ンベアリング,コンロツドURブラウン(8個)
|
|
9 |
6S5-11656-70 |
プレ-ンベアリング,コンロツド プレ-ンベアリング,コンロツドURグリーン(8個)
|
|
10 |
6S5-17572-01 |
シヤフト,トランスフア シヤフト,トランスフア(1個)
|
|
11 |
6S5-12289-00 |
ワツシヤ ワツシヤ(1個)
|
|
12 |
6S5-45813-01-94 |
フランジ,カツプリング フランジ,カツプリング(1個)
|
|
13 |
6S5-17525-01 |
ホルダ2 ホルダ2(1個)
|
|
14 |
6S5-11459-01 |
ナツト,スペシヤル ナツト,スペシヤル(1個)
|
|
15 |
6BH-17586-11 |
ギア,トランスフアドライブ ギア,トランスフアドライブ(1個)
|
|
16 |
6S5-17031-00 |
ボルト ボルト(1個)
|
|
|