
|
見出番号 |
部品番号 |
部品名 |
数量 |
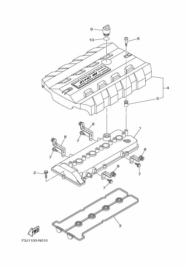
1 |
6S5-11191-20 |
カバ-,シリンダヘツド1 カバ-,シリンダヘツド1(1個)
|
|
2 |
90105-06028 |
ボルト,フランジ ボルト,フランジ(8個)
|
|
3 |
6BH-11193-00 |
ガスケツト,ヘツドカバ-1 ガスケツト,ヘツドカバ-1(1個)
|
|
4 |
6ET-E110M-00 |
カバ-アセンブリ 1 カバ-アセンブリ1(1個)
|
|
5 |
6S5-E1328-00 |
グロメツト .グロメツト(2個)
|
|
6 |
6S5-E118E-00 |
ボルト,カバーマウント ボルト,カバーマウント(2個)
|
|
7 |
95814-06012 |
ボルト,フランジ ボルト,フランジ(4個)
|
|
8 |
6S5-11941-10 |
ステ- ステ-(4個)
|
|
9 |
6S5-15363-00 |
プラグ,オイル プラグ,オイル(1個)
|
|
10 |
93210-24M79 |
O-リング O-リング(1個)
|
|
|