純正パーツカタログよりご注文又はお見積
YAMAHA MarineJet  2020年式  MJ-FX HO ピュアホワイト > クランクケ-ス

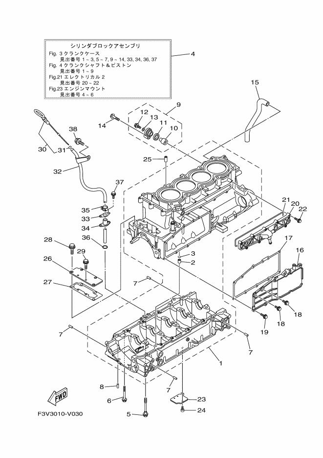
見出番号

部品番号

部品名

数量

1

6CR-15100-11

クランクケ-スアセンブリ
クランクケ-スアセンブリ(1個)

2

99530-10114

ピン,ダウエル
.ピン,ダウエル(1個)

3

93210-11453

O-リング
.O-リング(1個)

4

6CR-W009B-11-94

シリンダブロツクアセンブリ
シリンダブロツクアセンブリ(1個)

5

90105-10071

ボルト,フランジ
ボルト,フランジ(10個)

6

95814-06070

ボルト,フランジ
ボルト,フランジ(12個)

7

93606-12019

ピン,ダウエル
ピン,ダウエル(8個)

8

93604-10M03

ピン,ダウエル
ピン,ダウエル(2個)

9

69J-11301-10

アノードカバーアセンブリ
アノードカバーアセンブリ(1個)

10

68V-11325-02

アノ-ド
.アノ-ド(1個)

11

67F-11328-00

グロメツト
.グロメツト(1個)

12

90105-06M07

ボルト,フランジ
.ボルト,フランジ(1個)

13

90430-06M03

ガスケツト
.ガスケツト(1個)

14

97E95-08540

ボルト,ヘキサゴンウイズワツシヤデイープリセス
ボルト,ヘキサゴンウイズワツシヤデイープリセス(1個)

15

6S5-11377-00

ホ-ス
ホ-ス(1個)

16

6S5-1131M-10-8P

カバ-
カバ-(1個)

17

6BH-13557-00

ガスケツト
ガスケツト(1個)

18

95024-06014

ボルト,フランジ(スモールヘツド)
ボルト,フランジ(スモールヘツド)(2個)

19

95024-06020

ボルト,フランジ(スモールヘツド)
ボルト,フランジ(スモールヘツド)(9個)

20

6CS-12469-A0

ジヨイント1
ジヨイント1(1個)

21

6CS-12517-00

ガスケツト,ウオータインレツト
ガスケツト,ウオータインレツト(1個)

22

95814-06035

ボルト,フランジ
ボルト,フランジ(9個)

23

6S5-13337-10

プレ-ト,バツフルロワ
プレ-ト,バツフルロワ(1個)

24

90110-06182

ボルト,ヘキサゴンソケツトヘツド
ボルト,ヘキサゴンソケツトヘツド(1個)

25

99530-10114

ピン,ダウエル
ピン,ダウエル(2個)

26

6BH-1131C-00

カバー,ジヨイント
カバー,ジヨイント(1個)

27

6BH-1131B-00

ガスケツト,カバー
ガスケツト,カバー(1個)

28

95814-08020

ボルト,フランジ
ボルト,フランジ(4個)

29

95814-06016

ボルト,フランジ
ボルト,フランジ(2個)

30

6ET-15362-00

プラグ,オイルレベル
プラグ,オイルレベル(1個)

31

93210-06632

O-リング
.O-リング(1個)

32

6CS-8572F-00

パイプ, オイルレベル
パイプ,オイルレベル(1個)

33

6BH-1319K-00

プレ-ト
プレ-ト(1個)

34

6CS-85516-00

スペ-サ
スペ-サ(1個)

35

90467-150A1

クリツプ
クリツプ(1個)

36

93210-12016

O-リング
O-リング(1個)

37

90109-06268

ボルト
ボルト(2個)

38

90105-08021

ボルト,フランジ
ボルト,フランジ(1個)