純正パーツカタログよりご注文又はお見積
YAMAHA MarineJet  2020年式  MJ-GP1800R SVHO VIVID PURPLISH BLUE METALLIC6 > シリンダ 1

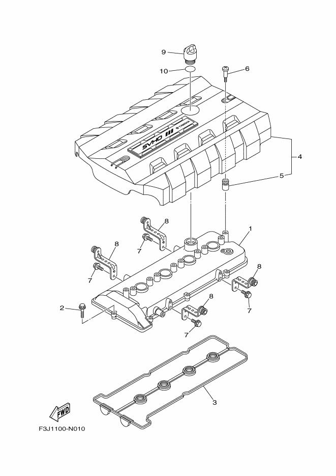
見出番号

部品番号

部品名

数量

1

6S5-11191-20

カバ-,シリンダヘツド1
カバ-,シリンダヘツド1(1個)

2

90105-06028

ボルト,フランジ
ボルト,フランジ(8個)

3

6BH-11193-00

ガスケツト,ヘツドカバ-1
ガスケツト,ヘツドカバ-1(1個)

4

6ET-E110M-00

カバ-アセンブリ 1
カバ-アセンブリ1(1個)

5

6S5-E1328-00

グロメツト
.グロメツト(2個)

6

6S5-E118E-00

ボルト,カバーマウント
ボルト,カバーマウント(2個)

7

95814-06012

ボルト,フランジ
ボルト,フランジ(4個)

8

6S5-11941-10

ステ-
ステ-(4個)

9

6S5-15363-00

プラグ,オイル
プラグ,オイル(1個)

10

93210-24M79

O-リング
O-リング(1個)