純正パーツカタログよりご注文又はお見積
YAMAHA MarineJet  2020年式  MJ-VX Cruiser HO ダークパープリッシュブルーメタリック11 > シリンダ1

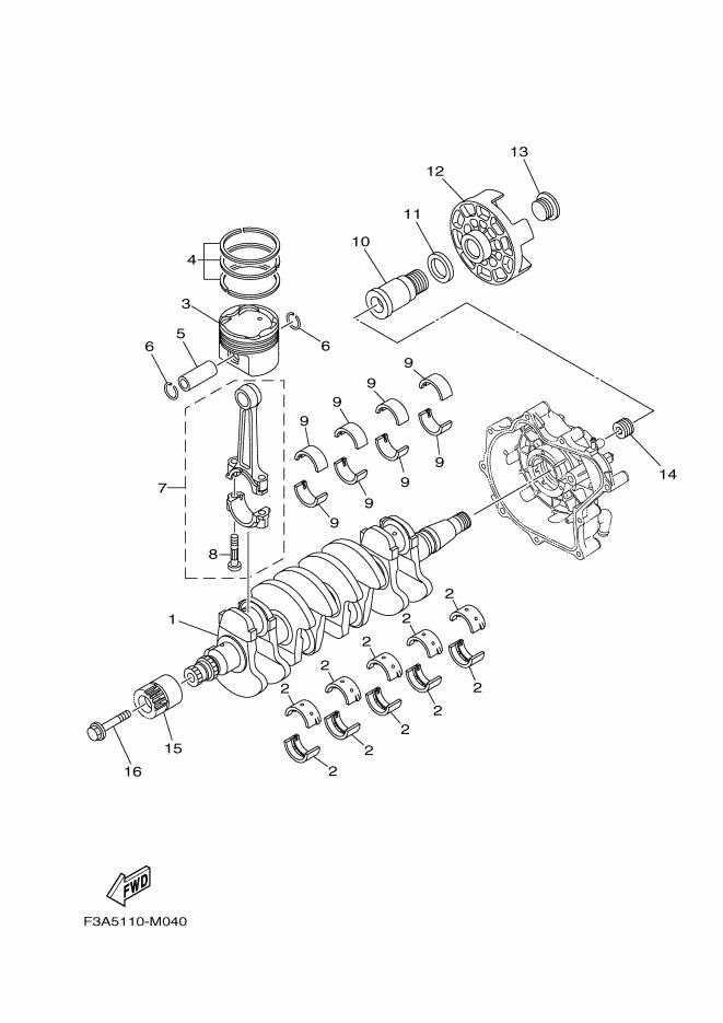
見出番号

部品番号

部品名

数量

1

6ET-11411-00

クランクシヤフト
クランクシヤフト(1個)

2

6S5-11416-00

プレ-ンベアリング,クランクシヤフト1
プレ-ンベアリング,クランクシヤフト1URブラウン(10個)

2

6S5-11416-10

プレ-ンベアリング,クランクシヤフト1
プレ-ンベアリング,クランクシヤフト1URブラツク(10個)

2

6S5-11416-20

プレ-ンベアリング,クランクシヤフト1
プレ-ンベアリング,クランクシヤフト1URブルー(10個)

2

6S5-11416-30

プレ-ンベアリング,クランクシヤフト1
プレ-ンベアリング,クランクシヤフト1URグリーン(10個)

2

6S5-11416-40

プレ-ンベアリング,クランクシヤフト1
プレ-ンベアリング,クランクシヤフト1URイエロー(10個)

3

6BH-11631-00-B0

ピストン(STD)
ピストン(STD)(4個)

4

6S5-11603-00

ピストンリングセツト(STD)
ピストンリングセツト(STD)(4個)

5

6S5-11633-00

ピン,ピストン
ピン,ピストン(4個)

6

93450-24028

サ-クリツプ
サ-クリツプ(8個)

7

6BH-11650-10

コネクテイングロツドアセンブリ
コネクテイングロツドアセンブリ(4個)

8

6S5-11654-10

ボルト,コネクテイングロツド
.ボルト,コネクテイングロツド(2個)

9

6S5-11656-40

プレ-ンベアリング,コンロツド
プレ-ンベアリング,コンロツドURブルー(8個)

9

6S5-11656-50

プレ-ンベアリング,コンロツド
プレ-ンベアリング,コンロツドURブラツク(8個)

9

6S5-11656-60

プレ-ンベアリング,コンロツド
プレ-ンベアリング,コンロツドURブラウン(8個)

9

6S5-11656-70

プレ-ンベアリング,コンロツド
プレ-ンベアリング,コンロツドURグリーン(8個)

10

6S5-17572-01

シヤフト,トランスフア
シヤフト,トランスフア(1個)

11

6S5-12289-00

ワツシヤ
ワツシヤ(1個)

12

6S5-45813-01-94

フランジ,カツプリング
フランジ,カツプリング(1個)

13

6S5-17525-01

ホルダ2
ホルダ2(1個)

14

6S5-11459-01

ナツト,スペシヤル
ナツト,スペシヤル(1個)

15

6BH-17586-11

ギア,トランスフアドライブ
ギア,トランスフアドライブ(1個)

16

6S5-17031-00

ボルト
ボルト(1個)