
|
見出番号 |
部品番号 |
部品名 |
数量 |
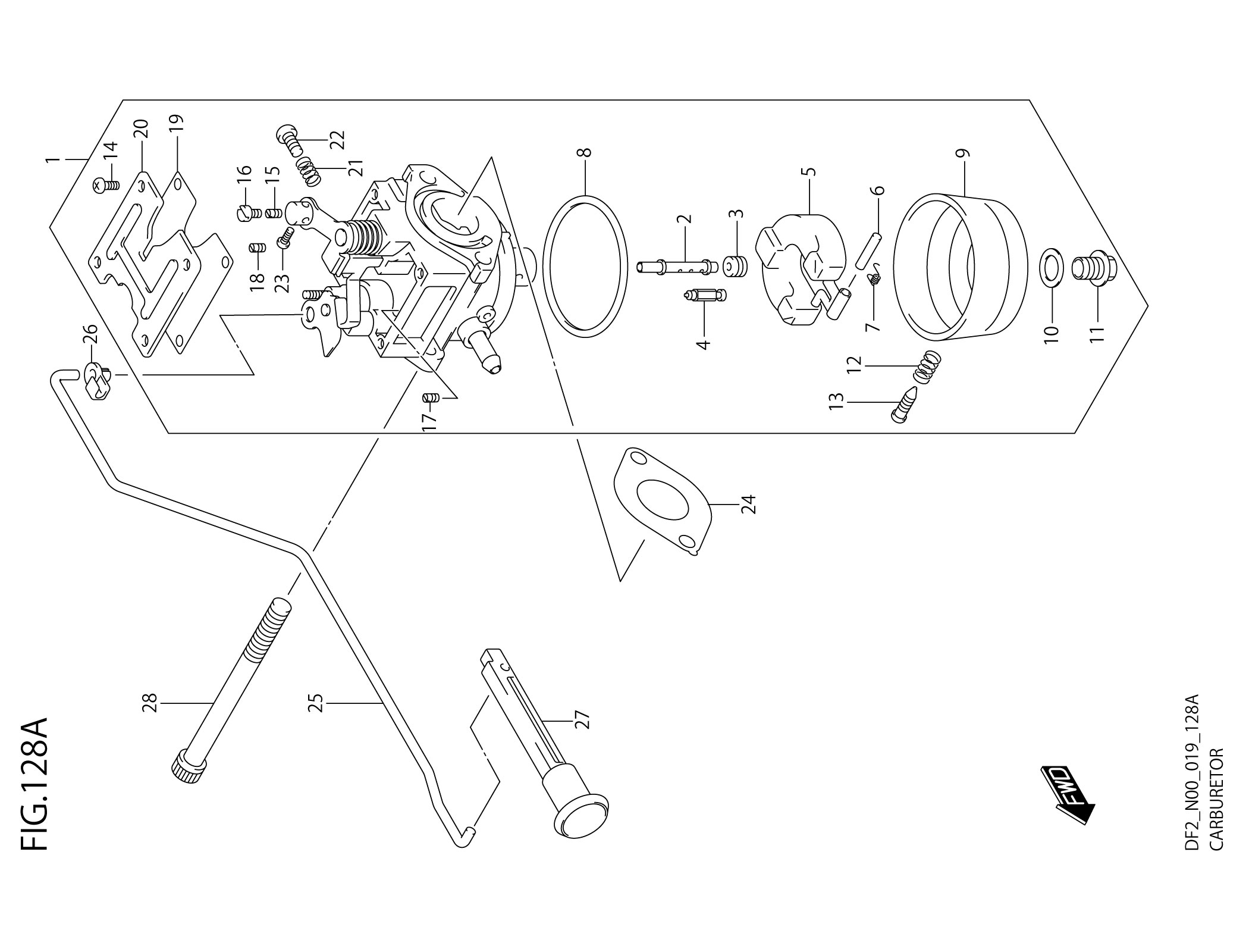
1 |
13200-97J70 |
キヤブレタアツシ×1個
|
|
2 |
13236-97J40 |
・ノズル,メイン×1個
|
|
3-1 |
09491-56007 |
・ジエツト,メイン(56)×1個
|
|
3-2 |
09491-58009 |
・ジエツト,メイン(58)×1個
|
|
3-3 |
09491-60014 |
・ジエツト,メイン(60)×1個
|
|
4 |
13371-97J00 |
・バルブ,ニ-ドル×1個
|
|
5 |
13250-97J20 |
・フロ-ト×1個
|
|
6 |
13254-97J00 |
・ピン,フロ-ト×1個
|
|
7 |
13268-97J30 |
・スプリング×1個
|
|
8 |
13251-97J00 |
ガスケット ・ガスケツト×1個
|
|
9 |
13245-97J00 |
・チヤンバ,フロ-ト×1個
|
|
10 |
13249-97J00 |
・ガスケツト×1個
|
|
11 |
13247-97J00 |
・スクリユ×1個
|
|
12 |
13268-97J10 |
・スプリング×1個
|
|
13 |
13616-97J00 |
・スクリユ×1個
|
|
14 |
13267-97J00 |
・スクリユ×4個
|
|
15-1 |
09492-33001 |
・ジエツト,パイロツト(33)×1個
|
|
15-2 |
09492-35035 |
・ジエツト,パイロツト(35)×1個
|
|
15-3 |
09492-37005 |
・ジエツト,パイロツト(37)×1個
|
|
16 |
13267-97J10 |
・スクリユ×1個
|
|
17 |
09493-28L01 |
・ジエツト,エア(140)×1個
|
|
18 |
09493-95003 |
・ジエツト,パイロット×エア(95)1個
|
|
19 |
13249-97J10 |
・ガスケツト×1個
|
|
20 |
13248-97J00 |
・プレ-ト×1個
|
|
21 |
13268-97J20 |
・スプリング×1個
|
|
22 |
13534-97J10 |
・スクリユ×1個
|
|
23 |
13267-97J20 |
・スクリユ×1個
|
|
24 |
13125-97J00 |
ガスケツト,キヤブレタ×1個
|
|
25 |
13413-97J10 |
ロツド,チヨ-ク×1個
|
|
26 |
13436-91J00 |
コネクタ、チョークロッド コネクタ,チヨ-クロツド×1個
|
|
27 |
13631-91J00 |
ノブ,チヨ-ク×1個
|
|
28 |
09103-06522 |
ボルト(6X75)×2個
|
|
|