
|
見出番号 |
部品番号 |
部品名 |
数量 |
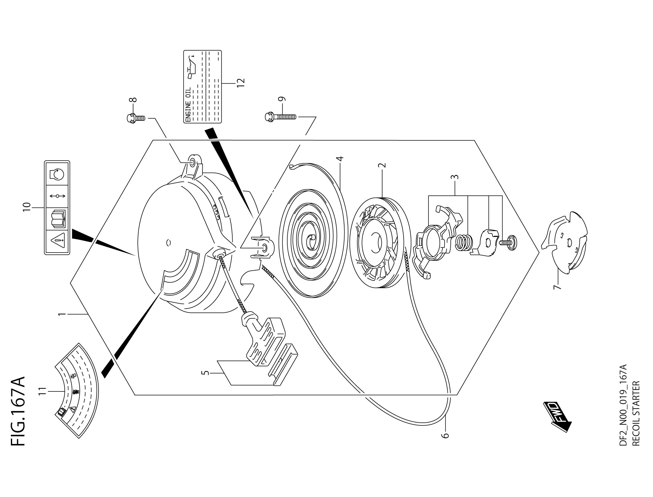
1 |
18100-97JM0 |
スタータアッシ、リコイル スタ-タアツシ,リコイル×1個
|
|
2 |
18120-97J00 |
・リ-ル×1個
|
|
3 |
18130-97J00 |
・ラチエツトセツト×1個
|
|
4 |
18142-04410 |
・スプリング,スパイラル×1個
|
|
5 |
18210-97J00 |
・グリツプセツト×1個
|
|
6 |
99000-81157-50M |
スタ-タロ-プ4MMDIA,50Mロ-ル×1個OPT-L:50000->1200
|
|
7 |
18211-97J00 |
プ-リ,スタ-タ×1個
|
|
8 |
01550-0620C |
ボルト×1個
|
|
9 |
01550-06357 |
ボルト×2個
|
|
10 |
69711-91J10 |
ラベル(S.I.G.P.)×1個
|
|
11 |
61472-93E20 |
ラベル,スタ-タ×1個
|
|
12 |
61494-97J01 |
ラベル,オイル/クリアランス×1個
|
|
|