
|
見出番号 |
部品番号 |
部品名 |
数量 |
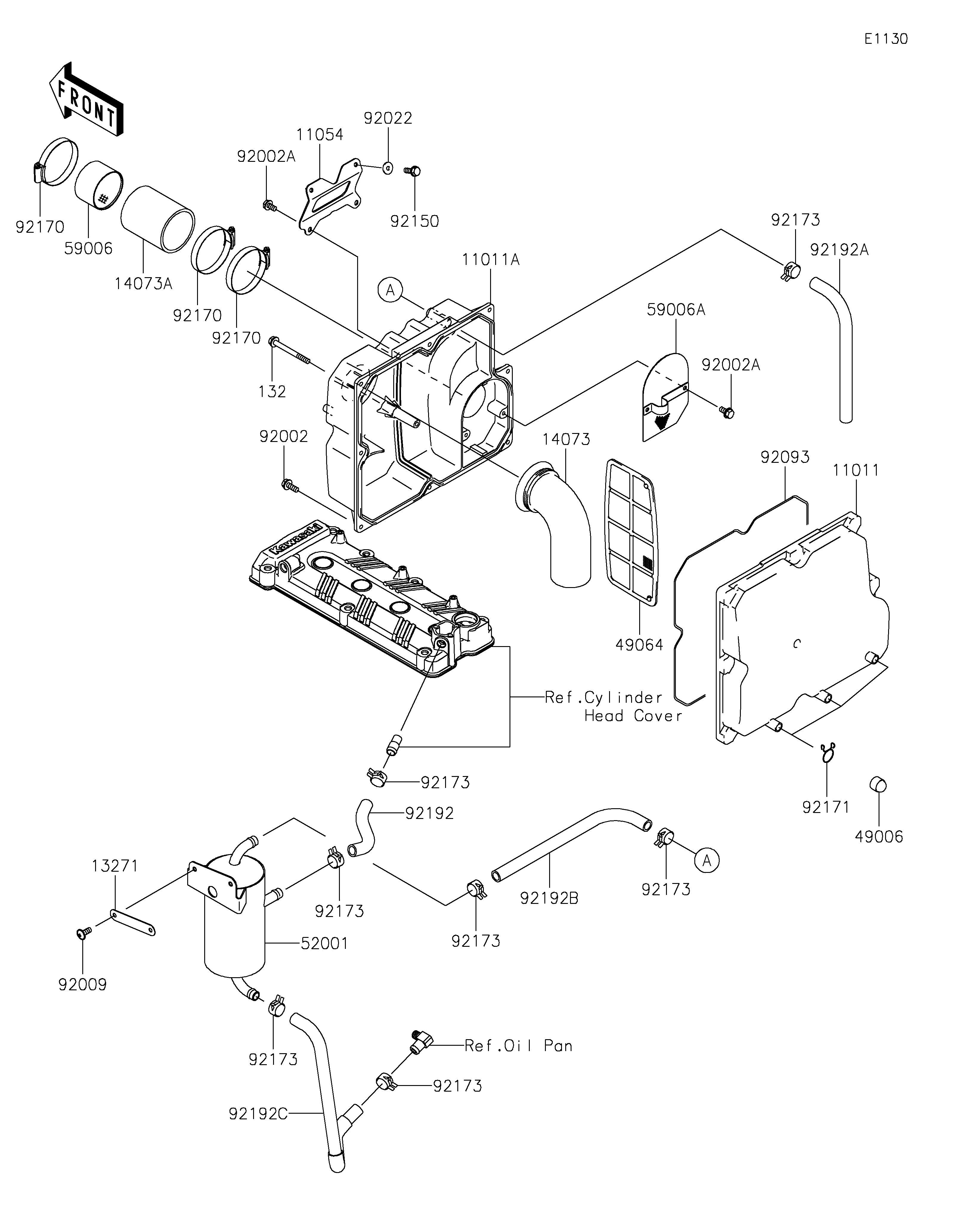
11011 |
11011-3704 |
ケ-ス(エアフイルタ),RR ケ-ス(エアフイルタ),RR(1個)
|
|
11011A |
11011-3706 |
ケ-ス(エアフイルタ) ケ-ス(エアフイルタ),FR(1個)
|
|
11054 |
11054-3744 |
ブラケツト,エア ボツクス ブラケツト,エア-ボツクス(1個)
|
|
132 |
132BD0660 |
ボルト(コガタツバツキ),6X60 ボルト(コガタツバツキ),6X60(1個)
|
|
13271 |
13271-3880 |
プレ-ト プレ-ト(1個)
|
|
14073 |
14073-3794 |
ダクト,エア フイルタ(ASV) ダクト,エア-インレツト(1個)
|
|
14073A |
14073-3795 |
ダクト,エア フイルタ(スロツトル) ダクト,エア-フイルタ(スロツトル)(1個)
|
|
49006 |
49006-3718 |
ブ-ツ,ドレン ブ-ツ,ドレン(3個)
|
|
49064 |
49064-3702 |
フイルタ(エア) フイルタ(エア)(1個)
|
|
52001 |
52001-0010 |
タンク(オイル) タンク(オイル)(1個)
|
|
59006 |
59006-3720 |
アレスタ(フレ-ム) アレスタ(フレ-ム)(1個)
|
|
92002 |
92002-3728 |
ボルト,6X16 ボルト,6X16(8個)
|
|
92002A |
92002-3763 |
ボルト ボルト,6X12(4個)
|
|
92009 |
92009-3870 |
スクリユ-,M16X16 スクリユ-,6X20(2個)
|
|
92022 |
92022-3710 |
ワツシヤ ワツシヤ,6.5X20X1.5(2個)
|
|
92093 |
92093-3766 |
シ-ル シ-ル(1個)
|
|
92150 |
92150-3729 |
ボルト,6X18 ボルト,6X18(2個)
|
|
92170 |
92170-3764 |
クランプ クランプ(2個)
|
|
92171 |
92171-3711 |
クランプ,ブ-ツ クランプ,ブ-ツ(3個)
|
|
92173 |
92173-1039 |
クランプ クランプ(7個)
|
|
92192 |
92192-1081 |
チユ-ブ,ヘツド-セパレータ チユ-ブ,ヘツド-セパレータ(1個)
|
|
92192A |
92192-3725 |
チユ-ブ チユ-ブ,ブローバイ(1個)
|
|
92192B |
92192-3795 |
チユ-ブ,オイル タンク-エアクリーナー チユ-ブ,オイル-タンク-エアクリーナー(1個)
|
|
92192C |
92192-3808 |
チユ-ブ,オイル タンク-オイル パン チユ-ブ,オイル-タンク-オイル-パン(1個)
|
|
|