純正パーツカタログよりご注文又はお見積
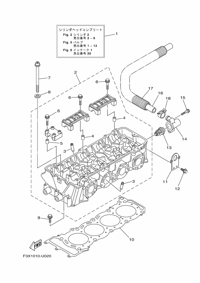
YAMAHA MarineJet  2021年式  MJ-FX SVHO > 02 シリンダ 2

見出番号

部品番号

部品名

数量

1

6ET-W009A-02-94

シリンダヘツドコンプリート
シリンダヘツドコンプリート×1個

2

6S5-11102-12

シリンダヘツドアセンブリ
シリンダ-ヘツド-アセンブリ×1個

3

6S5-11133-10

ガイド,バルブ1
.-ガイド,バルブ-1×16個

4

91809-16002

ピン,ダウエル
.-ピン,ダウエル×4個

5

91809-16002

ピン,ダウエル
.-ピン,ダウエル×4個

6

90105-07009

ボルト,フランジ
.-ボルト,フランジ×24個

7

6S5-12228-01

ボルト
ボルト×10個

8

6HL-12456-00

ワツシヤ
ワツシヤ×10個

9

97513-06555

ボルト,ウイズワツシヤ
ボルト,ウイズワツシヤ×3個

10

6JC-11181-00

ガスケツト,シリンダヘツド1
ガスケツト,シリンダヘツド-1×1個

11

6BH-1111E-00

ハンガ,エンジン2
ハンガ,エンジン-2×2個

12

90119-06078

ボルト,ウイズワツシヤ
ボルト,ウイズワツシヤ×4個

13

6D3-12411-00

サ-モスタツト
サ-モスタツト×1個

14

6BH-12413-00

カバ-,サ-モスタツト
カバ-,サ-モスタツト×1個

15

90105-06035

ボルト,フランジ
ボルト,フランジ×2個

16

6S5-12578-00

ホ-ス3
ホ-ス-3×1個

17

90447-28008

チユーブ(L850)
チユーブ-(L850)×1個

18

90467-240A0

クリツプ
クリツプ×1個