
|
見出番号 |
部品番号 |
部品名 |
数量 |
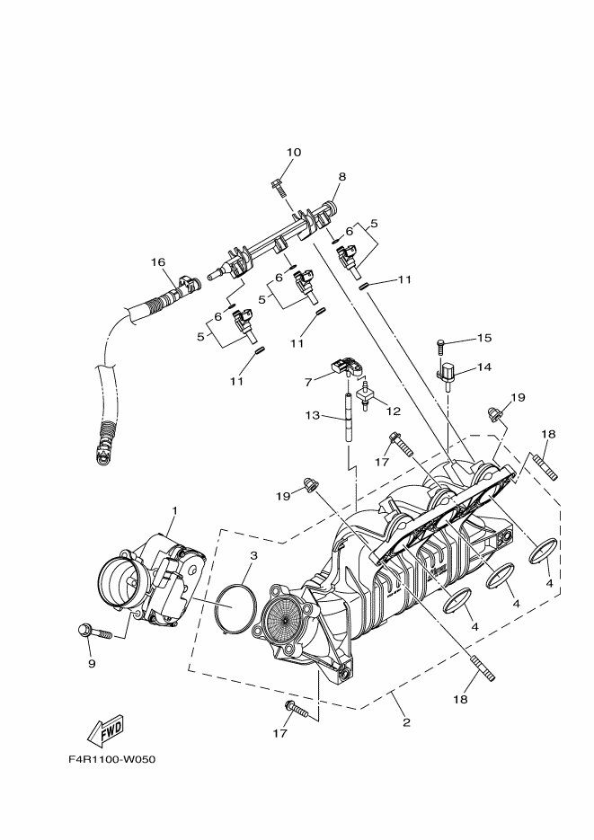
1 |
6EY-13750-00 |
スロツトルボデ-アセンブリ スロツトルボデ-アセンブリ×1個
|
|
2 |
6EY-13641-00 |
マニホ-ルド,インテ-ク1 マニホ-ルド,インテ-ク-1×1個
|
|
3 |
6EY-14156-00 |
ガスケツト,インシユレ-テイング .-ガスケツト,インシユレ-テイング×1個
|
|
4 |
6EY-14126-00 |
ガスケツト .-ガスケツト×3個
|
|
5 |
2HC-13761-00 |
インジエクタアセンブリ インジエクタアセンブリ×3個
|
|
6 |
68V-1416A-00 |
O-リング .-O-リング×1個
|
|
7 |
5S7-82380-00 |
センサ-,プレツシヤ- センサ-,プレツシヤ-×1個
|
|
8 |
6EY-12880-00 |
デリバリイパイプ デリバリイパイプ×1個
|
|
9 |
90105-08243 |
ボルト,フランジ ボルト,フランジ×4個
|
|
10 |
95814-06020 |
ボルト,フランジ ボルト,フランジ×2個
|
|
11 |
8FP-13556-10 |
ガスケツト,マニホ-ルド ガスケツト,マニホ-ルド×3個
|
|
12 |
6BH-14445-00 |
グロメツト グロメツト×1個
|
|
13 |
6EY-13532-00 |
ホース,バキユームセンシング3 ホース,バキユームセンシング-3×1個
|
|
14 |
8FP-85886-00 |
センサ,エアテンプラチユア センサ,-エアテンプラチユア×1個
|
|
15 |
97702-50520 |
スクリユ,タツピング スクリユ,タツピング×1個
|
|
16 |
6AN-2450B-10 |
フユ-エルホ-スアセンブリ フユ-エルホ-スアセンブリ×1個
|
|
17 |
97513-08535 |
ボルト,ウイズワツシヤ ボルト,ウイズワツシヤ×4個
|
|
18 |
95612-08625 |
スタッドボルト スタッドボルト×2個
|
|
19 |
90176-08080 |
ナツト,クラウン ナツト,クラウン×2個
|
|
|