
|
見出番号 |
部品番号 |
部品名 |
数量 |
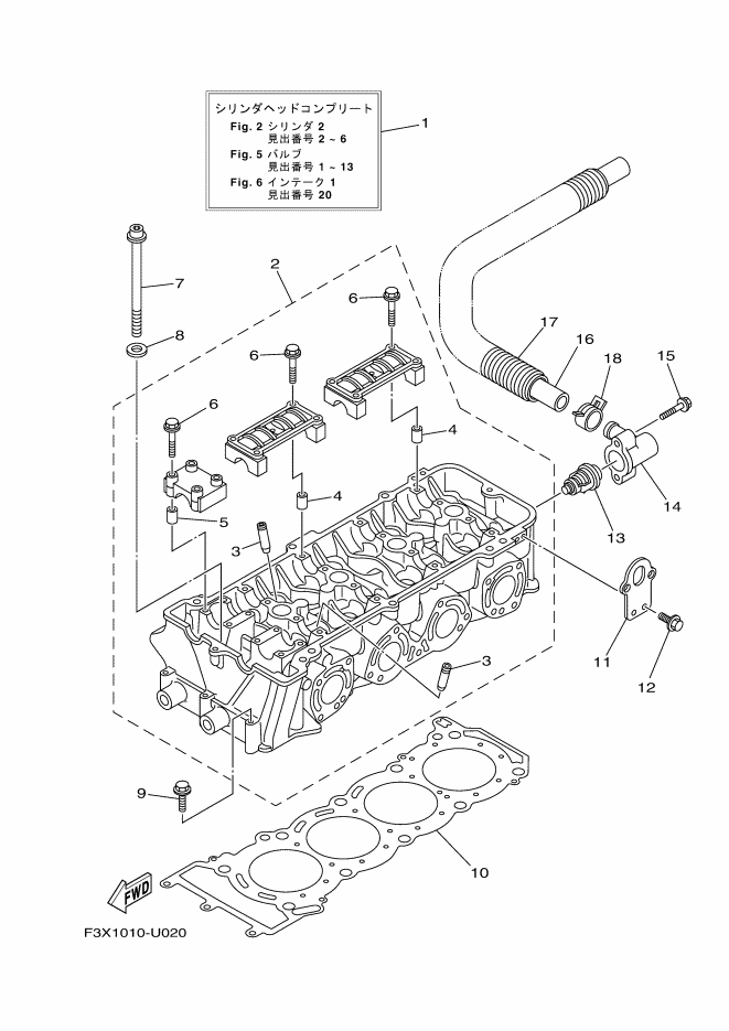
1 |
6ET-W009A-20-94 |
シリンダヘツドコンプリート シリンダヘツドコンプリート×1個
|
|
2 |
6S5-11102-20 |
シリンダヘツドアセンブリ シリンダ-ヘツド-アセンブリ×1個
|
|
3 |
6S5-11133-10 |
ガイド,バルブ1 .-ガイド,バルブ-1×16個
|
|
4 |
91809-16002 |
ピン,ダウエル .-ピン,ダウエル×8個
|
|
5 |
91809-16002 |
ピン,ダウエル .-ピン,ダウエル×4個
|
|
6 |
90105-07009 |
ボルト,フランジ .-ボルト,フランジ×24個
|
|
7 |
6S5-12228-01 |
ボルト ボルト×10個
|
|
8 |
6HL-12456-00 |
ワツシヤ ワツシヤ×10個
|
|
9 |
97513-06555 |
ボルト,ウイズワツシヤ ボルト,ウイズワツシヤ×3個
|
|
10 |
6JC-11181-00 |
ガスケツト,シリンダヘツド1 ガスケツト,シリンダヘツド-1×1個
|
|
11 |
6BH-1111E-00 |
ハンガ,エンジン2 ハンガ,エンジン-2×2個
|
|
12 |
90119-06078 |
ボルト,ウイズワツシヤ ボルト,ウイズワツシヤ×4個
|
|
13 |
6D3-12411-00 |
サ-モスタツト サ-モスタツト×1個
|
|
14 |
6BH-12413-00 |
カバ-,サ-モスタツト カバ-,サ-モスタツト×1個
|
|
15 |
90105-06035 |
ボルト,フランジ ボルト,フランジ×2個
|
|
16 |
6S5-12578-00 |
ホ-ス3 ホ-ス-3×1個
|
|
17 |
90447-28008 |
チユーブ(L850) チユーブ-(L850)×1個
|
|
18 |
90467-240A0 |
クリツプ クリツプ×1個
|
|
|