
|
見出番号 |
部品番号 |
部品名 |
数量 |
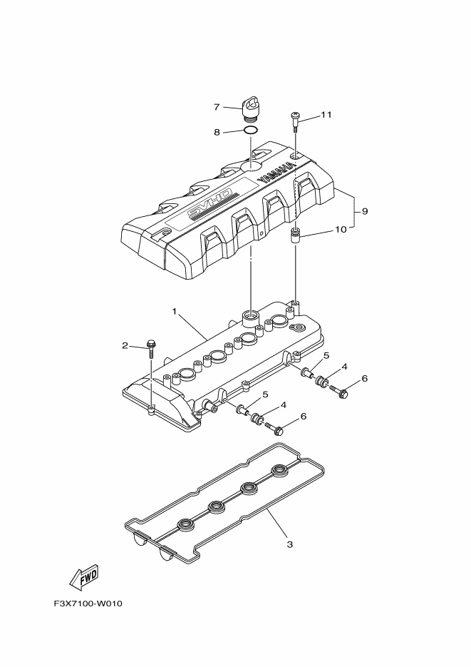
1 |
6BH-11191-20 |
カバ-,シリンダヘツド1 カバ-,シリンダヘツド-1×1個
|
|
2 |
90105-06028 |
ボルト,フランジ ボルト,フランジ×8個
|
|
3 |
6BH-11193-00 |
ガスケツト,ヘツドカバ-1 ガスケツト,ヘツドカバ--1×1個
|
|
4 |
61N-82317-01 |
ダンパ,イグニツシヨンコイル ダンパ,イグニツシヨンコイル×2個
|
|
5 |
90387-06119 |
カラ- カラ-×2個
|
|
6 |
95824-06025 |
ボルト,フランジ ボルト,フランジ×2個
|
|
7 |
6S5-15363-00 |
プラグ,オイル プラグ,オイル×1個
|
|
8 |
93210-24M79 |
O-リング O-リング×1個
|
|
9 |
6JN-E110M-00 |
カバ-アセンブリ1 カバ-アセンブリ-1×1個
|
|
10 |
6S5-E1328-00 |
グロメツト .-グロメツト×2個
|
|
11 |
6S5-E118E-01 |
ボルト,カバーマウント ボルト,カバーマウント×2個
|
|
|