純正パーツカタログよりご注文又はお見積
YAMAHA MarineJet  2022年式  FX1800G WaveRunner FX Cruiser HO ビビツド リ-フ グリ-ン ソリツド 6 > 01 シリンダ 1

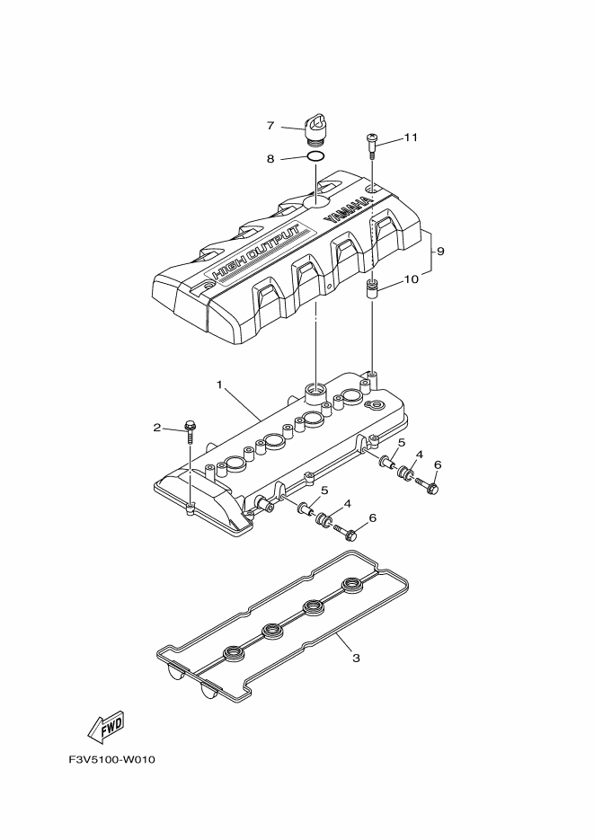
見出番号

部品番号

部品名

数量

1

6BH-11191-20

カバ-,シリンダヘツド1
カバ-,シリンダヘツド-1×1個

2

90105-06028

ボルト,フランジ
ボルト,フランジ×8個

3

6BH-11193-00

ガスケツト,ヘツドカバ-1
ガスケツト,ヘツドカバ--1×1個

4

61N-82317-01

ダンパ,イグニツシヨンコイル
ダンパ,イグニツシヨンコイル×2個

5

90387-06119

カラ-
カラ-×2個

6

95824-06025

ボルト,フランジ
ボルト,フランジ×2個

7

6S5-15363-00

プラグ,オイル
プラグ,オイル×1個

8

93210-24M79

O-リング
O-リング×1個

9

6JP-E110M-00

カバ-アセンブリ1
カバ-アセンブリ-1×1個

10

6S5-E1328-00

グロメツト
.-グロメツト×2個

11

6S5-E118E-01

ボルト,カバーマウント
ボルト,カバーマウント×2個